Most innovative companies for 06/13/2023 (new inventions)
Exciting new inventions from International Business Machines Corporation, Micron Technology, Inc., Apple Inc., Dell Products L.P. And Intel Corporation
This is a weekly article summarizing a handful of inventions from the most innovative companies in the world. The summaries are created by an A.I. and proof-read by a human before publication. Attempts are made to ensure accuracy of the descriptions, but it is very much a work in progress. Each invention description is preceeded by a poem about the invention that is written by the A.I. I have found the limerick is actually quite good at explaining the invention in simple terms. Enjoy!
****
Stud Finder and Template System Keep Your Curtain looking Neat
What is this invention?
Stud checker and drapery rod hanging template kit
A template and stud finder were found,
For a curtain bracket location was sound.
It's aligned with the frame,
And its holes are all same,
So for brackets there will be no rebound!

If you have ever tried to hang curtains or blinds, you know how important it is to find the studs or support structure behind your walls to make sure that the brackets or screws hold your window treatments securely in place. Thankfully, a new patent for a stud finder and template system has come to the rescue! The stud finder and template system is a simple but effective tool that makes hanging curtain brackets a breeze. The template aligns perfectly with the corner of your window frame, and it has evenly spaced holes that correspond with the locations of the studs or support structure behind your walls. Meanwhile, the stud finder has a housing, a handle, and a pin that helps you to locate the studs behind the wall via the holes on the template. The system also comes with a user-friendly method that is easy to follow. You position the template against your window frame and then position the stud finder against a corresponding hole. Once you depress the stud finder handle, it will tell you exactly where the studs are! Neat, right?One of the best things about this stud finder and template system is that while it's a useful tool, it's also easy to use. You don't have to worry about complicated instructions or unclear indicators. Just follow the steps provided and you're good to go!So what do you think? Would you use a stud finder and template system like this one? Have you ever had any difficulties in the past with hanging curtains or blinds due to locating the studs behind the walls? Let us know in the comments below!
The system includes a template, and a stud finder. The template aligns with a corner of a window frame, and has multiple evenly spaced holes. The stud finder has a housing, a handle, and a pin. A method of determining the location for a curtain bracket is also provided. The template is positioned against the window frame, and the stud finder is positioned against one of the holes in the template. The handle of the stud finder is depressed, and when this happens, the pin enters one of the holes in the template to indicate where on that side of the window frame there should be installed a curtain bracket.
US Patent 11674787
****
Valvetip-free Valve Clearance Measuring Assembly
What is this invention?
Valve clearance measuring method and assembly
A valve clearance measuring assembly,
Included a panel with a forward edge sassy.
It traversed the space between two arms,
And stayed in its linear configuration's charms.
Though it wasn't quite as big as an alpaca's!

Are you tired of the hassle that comes with measuring valve clearance on your engine? Well, look no further! A new patent has been designed to make your life easier. The valve clearance measuring assembly includes a panel that has a forward edge extendable between a valve tip and a rocker arm. The panel's first and second sides are planar, and the head includes a central member and a pair of arms that traverse a space. The assembly is attached to the arms, and the forward edge is in static communication with the arms, resulting in a linear configuration. This innovative assembly provides a straightforward measurement of valve clearance on engines without much fuss. The extendable forward edge ensures accurate measurements, and the linear configuration allows for easy traversing of the space between the arms. Overall, this patent's design is a significant step towards more efficient engine maintenance. It eliminates the common difficulties and uncertainties that come with measuring valve clearance. Its ease of use is unmatched and will save you time and effort when working on your engine. What do you think of this patent? Have you ever had difficulties measuring valve clearance? Share your thoughts and experiences with us in the comments below!
The valve clearance measuring assembly includes a panel having a first side, a second side, a forward edge and a rearward edge. The forward edge is extendable between the valve tip and the rocker arm. The first and second sides of the panel each are planar and orientated planar with respect to each other. A head includes a central member and a pair of arms. The arms extend in a generally same direction with respect to each other to define the space between the arms. The panel is attached to the arms and traverses the space. The forward edge is in static communication with the arms such that it remains in its linear configuration as it traverses across the space
US Patent 11674788
****
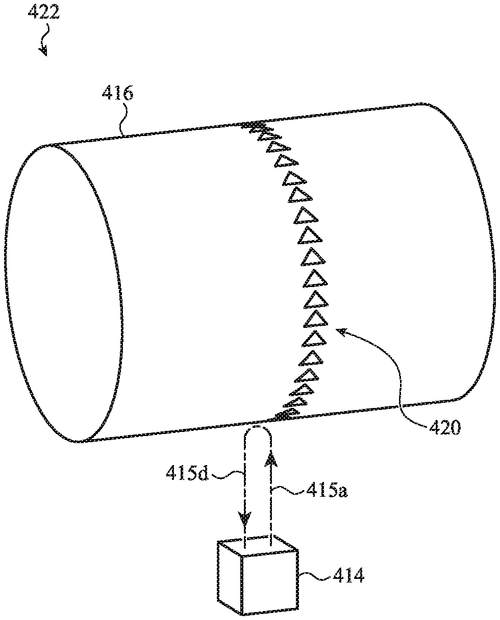
Surface Elements Enhance Flow-Following Capabilities
What is this invention?
Flow-following apparatus and methods of use
A surface drifter or drogue,
To enhance its hydrodynamic view,
Protrusions are placed,
Helical strakes and splitter plates,
To optimize the flow-following too!

Are you familiar with flow-following apparatuses? These innovative devices are used to track fluid motion, such as ocean currents, and their capabilities have just been enhanced with a new patent. Surface elements, such as protrusions, have been added to improve the hydrodynamic properties of the apparatus and optimize the drag-to-inertia ratio. In some embodiments, the apparatus has a cylindrical or spherical shape, and a position tracking device is used to monitor the flow motion. But what does this mean for the oceanographic community? The enhanced flow-following capabilities of these devices could lead to more accurate measurements of ocean currents, which could in turn aid in predicting and mitigating the effects of natural disasters such as hurricanes and tsunamis. Additionally, the technology could be used to monitor and study marine ecosystems, helping scientists to better understand and protect our oceans. I'm excited to see the potential of this new patent and how it will impact the future of oceanography. What applications do you see for this technology beyond tracking ocean currents? Let me know in the comments below.
Surface elements, such as protrusions, are provided for use on the surface of flow-following apparatuses, such as surface drifters or subsurface drogues, to enhance the hydrodynamic properties of the apparatus and enhance their capabilities to follow fluid motion. The protrusions may comprise helical strakes or splitter plates for optimizing the drag-to-inertia ratio of the flow-following apparatus, with the goal to enhance their flow-following capabilities. In some embodiments, the flow-following apparatus has a generally axisymmetric body shape, such as having a cylindrical, spherical or oblong shape. The flow-following apparatus may further comprise a position tracking device to track flow motion such as ocean currents.
US Patent 11674799
****
Flow Measurement of Hydrogen Density, Concentrations and Latitudinal Relaxation Times Reveals Component Pairs differing from Each Other
What is this invention?
Flowmeter
A flow measurement technique so neat,
It measures hydrogen density and heat.
For volumetric concentrations it can find,
And also the relaxation times of each kind.
The densities and shares it can calculate,
Making this article quite great!

Have you ever wondered what exactly goes into measuring hydrogen density and volumetric concentrations? Well, wonder no more, as a new patent has been developed that makes this process easier than ever before. The patent describes a method for flow measurement of hydrogen density, volumetric concentrations, and longitudinal and transverse relaxation times. It involves enclosing a mixture inside a probe volume, polarizing the mixture with a magnetic field, and measuring its relaxation behavior using pulsed electromagnetic waves. This is done at least n times with a different volumetric share of components, resulting in at least n different relaxation curves. From these curves, thermal equilibrium magnetizations and relaxation times can be obtained, allowing for the calculation of hydrogen densities and volumetric shares for each relaxation curve. This technology represents a significant improvement in the measurement and analysis of hydrogen density and volumetric concentrations. By enabling faster and more accurate measurements, it has the potential to advance various industries, including energy, manufacturing, and environmental monitoring.In conclusion, this patent is an impressive step forward in the field of hydrogen density and volumetric concentration measurement. What do you think are the potential applications of this technology? Let us know in the comments below!
The flow measurement technique described in this article measures the hydrogen density, volumetric concentrations, and longitudinal and transverse relaxation times of a mixture. This allows for the calculation of the hydrogen densities and the volumetric share of each component in the mixture.
US Patent 11674835
****
New Optical Sensor Arrangement Allows for Detection of Visible Light
What is this invention?
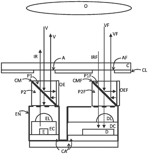
Optical sensor arrangement
A sensor arrangement with an eye,
Had a cover and mirror nearby.
The passband let through one wavelength for sure,
While the stopband blocked out what was pure.
This optical set-up is quite sly!

As technology continues to advance, we are seeing more and more innovative inventions that are making our lives easier and more efficient. One such invention is the optical sensor arrangement, which is described in a recent patent. The optical sensor arrangement is designed to emit or detect electromagnetic radiation with a first wavelength, and it achieves this through the use of an optoelectronic device covered by a cover arrangement. The arrangement also includes a mirror arrangement, which is situated between the optoelectronic device and the aperture, and it features a wavelength selective mirror with a passband and stopband. The passband includes a range of wavelengths that includes the first wavelength, while the stopband includes a range of wavelengths that correspond to visible light. The beauty of this new invention lies in its ability to detect specific wavelengths of electromagnetic radiation while eliminating other types of interference. By using the wavelength selective mirror, the arrangement is able to focus on a specific range of wavelengths, allowing for more accurate detection and measurement.Overall, this patent is exciting news for anyone interested in the latest advancements in technology. With its ability to detect and measure specific wavelengths of electromagnetic radiation, it has potential applications in a wide variety of fields.Do you think the optical sensor arrangement could benefit your industry or area of expertise? Share your thoughts and ideas in the comments below.
An optical sensor arrangement comprises an optoelectronic device covered by a cover arrangement and being configured to emit or detect at least electromagnetic radiation with a first wavelength through an aperture of the cover arrangement. The optical sensor arrangement further comprises a mirror arrangement arranged between the optoelectronic device and the aperture and comprising a wavelength selective mirror with a passband and a stopband. The passband includes a first wavelength range including the first wavelength, the stopband includes a second wavelength range corresponding to visible light or vice versa.
US Patent 11674842
International Business Machines Corporation
A computer system recommends routes based on user preferences and activity
What is this invention?
Route generation based on stated purpose of route traversal
A route generation method was made,
It takes into account a user's trade.
The request includes an activity and purpose too,
For the best routes it'll have to peruse.
Based on preferences it will then choose,
To give you the best route that you can use!

Are you tired of taking the same boring routes every day? Have you ever wanted to spice up your commute or leisurely strolls with a new destination or activity in mind? Well, look no further than this new patent for route generation based on activity and purpose!Implemented by a computer system, this method allows users to input their desired activity and purpose, along with their own preferences, and receive recommended routes based on those factors. Whether it's finding a scenic walking route for exercise or discovering a new coffee shop on your way to work, this technology can help add some excitement and variety to your daily routine.But it's not just about convenience and novelty. This method can also assist those with disabilities or mobility issues who may require specific routes that accommodate their needs. By taking into account user preferences and accessibility features, this technology can suggest routes that are not only enjoyable but also feasible and comfortable.Overall, this patent for route generation based on activity and purpose is a promising innovation for those looking to explore new paths and experiences. What kind of activities and purposes would you use this technology for? Let us know in the comments below!
A route generation method is disclosed that takes into account a user's preferences when generating routes. The method includes receiving a route request from a user device, the route request including an activity to be performed during a route traversal and a purpose of the activity. The method also includes obtaining a set of user preferences associated with the user identifier from a user profiles database. Next, the method identifies a set of route candidates with route attributes matching the activity, the purpose of the activity, and at least one of the user preferences. Finally, outputting one or more recommended route candidates from the set of recommended route candidates to the user device based on the matching.
US Patent 11674815
International Business Machines Corporation
Detecting neurotransmitters with a porous electrode and pH sensor
What is this invention?
Porous nanostructured electrodes for detection of neurotransmitters
A system for detecting neurotransmitters,
Including a porous electrode and pH sensor bits;
The sensing electrode measures current as a function of voltage,
The reference provides a stable electrical potential to compare it with;
Data from the electrodes is processed so those neurotransmitters can be detected!

The future of neuroscience is looking bright with the latest patent for a system that detects neurotransmitters. This incredible invention includes a porous electrode and a pH sensor that is attached to it, with a sensing electrode and a reference electrode. The electronic circuitry that comes with it ensures smooth communication with the pH sensor, allowing the detection of neurotransmitters to be even more accurate. This new system could revolutionize how scientists conduct research on the brain. Being able to accurately detect neurotransmitters is crucial to understanding how the brain functions, and this invention has the potential to do just that.Imagine being able to diagnose psychiatric and neurological disorders more precisely, leading to better treatment options for patients suffering from these debilitating conditions. The possibilities are endless. What do you think about this new invention? Do you think it has the potential to transform the field of neuroscience? Share your thoughts in the comments below!
Embodiments of the invention are directed to a system for detecting neurotransmitters. A non-limiting example of the system includes a porous electrode. A system can also include a pH sensor attached to the porous electrode, wherein the pH sensor includes a sensing electrode and a reference electrode. The system can also include electronic circuitry in communication with the pH sensor. The sensing electrode can be configured to measure an electrical current as a function of voltage applied thereto. The reference electrode can be configured to provide a stable electrical reference potential for comparison with voltages measured by the sensing electrode. The electronic circuitry can be configured to process data received from the sensing electrodes and/or reference electrodes in order to detect neurotransmitters present on or near the porous electrode surface.
US Patent 11674922
International Business Machines Corporation
Nanopore Structures Now Available with Diverse Sizes
What is this invention?
Nanopore structures
A nanopore structure was designed,
With an oxide shell that surrounded.
The center had a larger size,
And it all looked quite nice.
Methods of forming were soundly expounded!

Are you ready for a new wave of nanotechnology? If so, you might want to check out a recent patent for nanopore structures. These tiny structures comprise an oxide shell surrounding a nanopore, with openings on both ends of the pore. What's unique about this structure is that the diameter of the openings on either end is larger than the diameter of the nanopore's center. But that's not all. The patent also describes another type of nanopore structure, which features a first and second film, with at least one pore extending through both films. Within the pore, there's a dielectric material, and at the center of that material is a nanopore. This time, the opening diameter at the bottom of the nanopore is larger than at the top. Overall, these nanopore structures seem promising for a range of applications. From nanoelectronics to sensing and detection, these tiny structures have the potential to revolutionize various fields. So, how would you envision these nanopore structures being used? Do you see them being applied to a specific industry or technology? Share your thoughts in the comments below.
Nanopore structures are described that include an oxide shell surrounding a nanopore, with openings on both ends of the nanopore having a diameter. The center of the nanopore has a larger diameter. Additionally, nanopores are described that include a first film disposed on a substrate, and a second film disposed on the first film. At least one pore extends through the first film and the second film, and dielectric material is disposed in the at least one pore. A nanopore is then located at a center of the dielectric material in the at least one pore, with top and bottom openings to the nanopore having different diameters. Methods of forming these types of nanostructures are also provided.
US Patent 11674947
International Business Machines Corporation
Conformal Laminate and Rigid Probes Extend Electrically Connected Microcircuit Under Test
What is this invention?
Compliant wafer probe assembly
A wafer test device was found,
With probes extending from the ground.
It had a laminate that was conformal,
And a spring plate with an inner frame formal.
The microcircuit below it could be sound!

Are you tired of using outdated and unreliable wafer test devices? Look no further than this innovative new invention!This wafer test device boasts a conformal laminate and rigid probes that can form a secure electrical connection with the microcircuit under test. But that's not all - it also includes a spring plate with a conformal inner frame and a rigid outer frame for added stability. And with the laminate attached to the inner frame of the spring plate, you can trust that your tests will be accurate and efficient.Gone are the days of struggling with clunky and inconsistent wafer test devices. With this new invention, you can trust that your testing will be smooth sailing. So why settle for less?What are your thoughts on this new wafer test device? Do you think it has the potential to revolutionize the industry? Let us know in the comments below!
The invention includes a wafer test device with a conformal laminate and rigid probes extending from the laminate to form an electrical connection with a microcircuit under test. The wafer test device also includes a spring plate on a side of the laminate that is opposite a side from which the rigid probes extend. The spring plate includes a conformal inner frame and a rigid outer frame. The laminate is attached to the inner frame of the spring plate.
US Patent 11675010
International Business Machines Corporation
Predicting the Weather with Machine Learning
What is this invention?
Predicting weather radar images
There once was a project so great
That used machine learning to predict fate
It built models that gave radar images divine
With forecasts for location and time
The results of this model were just fine!

Are you tired of unpredicted weather changes that can ruin your plans? Well, worry no more as a new technology has been created to predict weather radar images with higher precision. Yes, you read that right! A machine learning model has been developed to generate predictive radar images based on weather forecast data and historical radar images. This new technology works by creating two different models which, when combined, can create a more accurate weather forecast. The first model uses input weather forecast data to generate the first predictive radar images. The second model generates the second predictive radar images based on historical radar images and the first predictive radar images. By providing historical radar images for a location and an output of the first machine learning model, the second model can generate enhanced predictive radar images. This new technology can revolutionize how we predict weather changes and can prove to be an essential tool for meteorologists. But it's not just for meteorologists; anyone who relies on accurate weather forecasting can benefit from this innovation. With more accurate forecasts, we can plan better and avoid disruptions caused by unexpected changes in weather. What are your thoughts on this new technology? Do you think it could be beneficial for predicting weather changes, or do you have any doubts? Share your opinions in the comments below.
In this project, we are using machine learning to predict weather radar images. We will first build a model to generate predictive radar images based on input weather forecast data. Then, we will use the same model to generate enhanced predictive radar images by providing weather forecast data for a location and time. Finally, we will compare the results of these two models.
US Patent 11675071
Micron Technology, Inc.
AR-Enabled Computing Device Provides Easy Route to Your First Location
What is this invention?
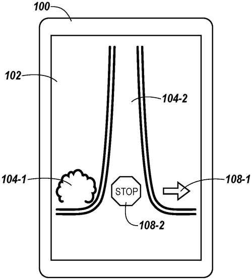
Providing a route with augmented reality
A device to provide a route with AR,
The trigger was from its first location far.
It tracked the movement and provided a way,
To get back home at the end of the day.
Just follow that route with augmented reality!

Have you ever gotten lost in an unfamiliar place? Or wandered too far from your starting point and couldn't remember the way back? With the latest technology, that won't be a problem anymore. A new patent has been described that involves a computing device providing a route with augmented reality (AR). The amazing thing about this concept is that it uses augmented reality to guide you back to your starting point. The method includes receiving a trigger associated with the initial location and tracking movements of the device relative to that location. Once you have reached a second location, the technology will provide you with a route back to the initial location, complete with AR displays to guide you along the way. This is a fantastic innovation that could revolutionize the way we navigate through unfamiliar environments. It could turn a potentially stressful situation into a fun adventure. Imagine going on a treasure hunt where your device guides you through a maze of AR displays to reach the final prize.However, one might wonder about the possibility of getting lost or disoriented while relying solely on augmented reality. Could this technology have any adverse effects on our natural sense of direction? We'd love to hear your thoughts on this in the comments below.
This text describes methods and devices for providing a route with augmented reality (AR). The method can include receiving a trigger associated with a first location of the computing device, tracking movement of the computing device relative to the first location, and providing a route back to the first location from a second location reached during the tracked movement. The route can include displayed AR.
US Patent 11674816
Micron Technology, Inc.
Resuming Operation from Low-Power State with APL
What is this invention?
Dynamic P2L asynchronous power loss mitigation
There once were systems and methods,
For storing P2L data structures in memory arrays.
When restarting from a low-power state, such as after an APL,
The first and second P2Ls could be stored without fail.
Their addresses were stored in the second one so neat,
Making sure these data structures would never miss a beat!

Are you someone who gets bothered by data loss during power disruptions? Fear not for technology has once again come to the rescue! The latest development in this field is a new patent which ensures that data is not lost even during an asynchronous power loss. This new storage system includes advanced control circuitry and a memory array with multiple groups of memory cells. It stores the first physical-to-logical (P2L) data structure for the first physical area of a memory cell group in a second physical area of the same group, making sure that the data structure responsible for mapping logical addresses to physical addresses is always available, even after power loss. The first group of memory cells includes a super block of memory cells, while a second P2L data structure for the second physical area is stored in a metadata area of the same, with the address of the first P2L data structure being stored in this second P2L data structure. This is a huge development in the field of data storage as it ensures that data isn't lost even when there's an unexpected power outage. It not only ensures data integrity, but it also means that you won't have to worry about losing any important files while you're working on them. No more fear of losing your current file progress because of a sudden power cut!What do you think about this new development in data storage systems? Have you experienced data loss because of unexpected power outages? Share your thoughts in the comments below!
Systems and methods are disclosed for storing P2L data structures in memory arrays. When restarting from a low-power state, such as after an APL, the systems and methods can store a first P2L data structure for a first physical area of a first group of memory cells in a second physical area of the first group of memory cells. The systems and methods can also store a second P2L data structure for the second physical area of the first group of memory cells. The addresses of both the first P2L data structure and the second P2L data structure can be stored in the second P2L data structure.
US Patent 11675411
Micron Technology, Inc.
Memory Management Keeps Host Data Safe
What is this invention?
Scheduling media management operations based on provided host system usage requirements
A host system's parameters to gain,
Will help determine the memory domain.
The expected time set,
An indication to get,
If data isn't received then media management will remain.

There's a new patent in town, and it's all about optimizing memory sub-systems. Essentially, this invention aims to ensure that data is transferred from a host system to a memory sub-system within an expected time period. If the system detects that the data won't arrive in that time frame, it will perform a media management operation to make sure everything runs smoothly. As someone who is always looking for ways to improve technology, I'm excited by the potential of this invention. I can imagine it being particularly useful in situations where there is a high volume of data transfer and things need to run as efficiently as possible. It's always great to see innovations that make our devices work better and faster.But I also wonder about the potential downsides of relying on this type of technology. Will it reduce the amount of human oversight needed to manage systems, and ultimately lead to more automation? Or will it create new problems and errors that we don't yet anticipate?What do you think? Does this patent inspire excitement or concern? Let me know in the comments below!
- Usage parameter values are obtained from a host system. This information is used to determine the operations that will be performed on the memory subsystem.
- Expected time period for receiving data from the host system is determined in light of these parameters and an indication received from the host system is taken into account when making this determination. If data isn't received by the expected time, then media management actions are taken on behalf of the memory subsystem in order to ensure proper operation.
US Patent 11675498
Micron Technology, Inc.
Memory Subsystems: Open Multiple Cursors to Recall Memories
What is this invention?
Multiple open block families supporting multiple cursors of a memory device
A memory sub-system was made,
With a device and processing aid.
It opened block families,
And assigned cursors please,
To make sure the blocks were displayed.

In today's rapidly advancing world, where data storage and retrieval are essential, innovative technology is always in demand. One such technology that has recently been granted a patent involves a method for efficient data storage and management. The patent describes a memory subsystem comprising a memory device and a processing device. The processing device is responsible for opening block families and assigning cursors to them, enabling efficient block association. By using this method, the memory subsystem allows for quick access to data and increased efficiency in storage and data transfer. The possibilities of this technology are endless. The application of this memory subsystem in a variety of industries could be a game-changer for businesses looking to store and access large amounts of data quickly and effectively. Healthcare providers, for example, could use this technology to efficiently access and store medical records while financial institutions could leverage it to handle vast amounts of client data. What do you think of this innovative technology? Do you see potential applications beyond those mentioned here? Let us know in the comments below!
The text describes an example memory sub-system that includes a memory device and a processing device. The processing device is configured to open a first block family associated with the memory device, assign a first cursor of a plurality of cursors of the memory device to the first block family, responsive to programming a first block associated with the first cursor, associate the first block with the first block family, open, while the first block family is open, a second block family associated with the memory device, assign a second cursor of the plurality of cursors of the memory device to the second block family, and responsive to programming a second block associated with the second cursor, associate the second block with the second block family.
US Patent 11675509
Micron Technology, Inc.
Memory Subsystem Assigns Data Streams to Blocks Quickly and Efficiently
What is this invention?
Associating multiple cursors with block family of memory device
A memory sub-system was found
With a device and processor around
Data streams were assigned, to blocks of the family
To program one or more would be handy
It's very efficient, this system we see
And it all works perfectly!

Are you ready to experience even faster and more efficient memory storage? Well, get ready, because a new patent has been released that could revolutionize the way we think about memory sub-systems. This new memory sub-system includes a memory device and a processing device that work in tandem to assign data streams to different blocks of a memory device. What's even more impressive is that the system is equipped to recognize when certain blocks share common attributes and can then be grouped together into a “block family”. The most impressive part about this patent is that it allows for the system to recognize when a particular block has been programmed with a certain data stream and then associates it with the block family accordingly. This means that data streams can now be stored more efficiently, greatly reducing the time it takes for the system to retrieve and access information. Overall, this innovation has huge implications for the way we store, access, and process data, potentially leading to significant improvements in system performance. So, what do you think about this new patent? Are you excited to see faster and more efficient memory storage in action? Let us know your thoughts in the comments below!
The text describes an example memory sub-system that includes a memory device and a processing device, which are operatively coupled to the memory device. The processing device is configured to assign a plurality of data streams to a block family comprising a plurality of blocks of the memory device, and responsive to programming one or more blocks associated with those data streams.
US Patent 11675511
Apple Inc.
Interactive Rotatable Crown Allows for Accurate Self-Mixing SMI Sensor
What is this invention?
Cylindrical retroreflector array for rotation tracking
There once was a device electronic,
With a housing and crown rotative;
It included an SMI sensor,
For retroreflective surface features,
That with light could detect its own movement.

Are you ready for a brand new innovation in electronic devices? A new patent has been described for an electronic device that includes a rotatable crown and a self-mixing interferometry (SMI) sensor positioned within a housing. This device utilizes an array of retroreflective surface features that reflect incident light back to a light source to identify a movement or distance of the rotatable crown with respect to the SMI sensor. The array of retroreflective surface features are formed as a corner-cube with three perpendicular faces. This innovative technology has the potential to revolutionize the way in which we perform movements and distance calculations. With SMI sensor technology, the accuracy and precision with which we measure movement and distance could see a vast improvement. What do you think about this new technology? How do you envision this being implemented into our daily lives? Share your thoughts in the comments section below.
An electronic device is described that includes a housing, a rotatable crown, and a self-mixing interferometry (SMI) sensor positioned within the housing. The rotatable crown may include an array of retroreflective surface features that reflect incident light back to a light source. Each retroreflective surface feature of the array of retroreflective surface features may be formed as a corner-cube with three perpendicular faces. The SMI sensor or associated processing electronics may compare originally emitted light with reflected light to identify a movement or distance of the rotatable crown with respect to the SMI sensor.
US Patent 11674825
Apple Inc.
Integrated Circuit Powered by Regulated Voltage Level
What is this invention?
Voltage regulation using local feedback
A voltage regulator circuit to give
A regulated voltage, while we live
It distributes power with care
To the ICs everywhere
And adjusts levels based on what it'll receive

Are you tired of constantly replacing batteries or dealing with inconsistent power levels in your electronic devices? The invention of a voltage regulator circuit described in this patent may be the solution to your problems. This innovative technology allows for a consistent, regulated voltage level to be distributed throughout an integrated circuit in a package, ensuring that all local power supply nodes receive an equal supply of power. One of the standout features of this circuit is the use of a feedback node that allows for adjustments to be made based on the power consumption of different circuits, ensuring that each load receives the appropriate amount of power. This not only ensures consistent power levels but also allows for increased efficiency and reduced energy consumption.Overall, this patent showcases an exciting development in voltage regulation technology that could have significant impacts on the electronics industry. It will be interesting to see how this technology is adopted and implemented in the future. What are your thoughts on this voltage regulator circuit? Do you think it has the potential to revolutionize the way we power our electronic devices? Let us know in the comments below.
A voltage regulator circuit may generate a regulated voltage level using a voltage level of a feedback node. The regulated voltage level may be distributed, via a power distribution network, to package power supply node of a package, into which an integrated circuit has been mounted. Power switches included in the integrated circuit may couple the package power supply node to respective local power supply nodes in the integrated circuit. A particular power switch may selectively couple different ones of the local power supply nodes to the feedback node, allowing the voltage regulator circuit to compensate for reductions in the regulated voltage level due to the power distribution network, as well as adjust the regulated voltage level based on power consumptions of load circuits coupled to the local power supply nodes.
US Patent 11675380
Apple Inc.
Flexible electronic devices come in many shapes and sizes!
What is this invention?
Flexible electronic devices
A flexible device that's quite a sight,
Comes with display and housing so light.
It has components in store,
That can flex even more,
And batteries lubricious to fight.

Are you ready for the next big thing in electronic devices? Look no further than the new patent for flexible electronic devices! This new technology allows for a device that can be deformed without causing damage. The flexible electronic device boasts features such as a flexible display, a multi-stable flexible housing, and internal components that are also flexible. The display includes flexible display layers, touch-sensitive layers, and cover layers. The flexible housing can be configured to have one or more stable positions and has a support structure that provides rigidity when engaged. Additionally, the internal components of the device, such as batteries and printed circuits, are also flexible. They may include flexible and rigid portions, allowing for movement while maintaining their shape. The flexible battery even includes a lubricious separator layer that provides flexibility. Imagine having a device that can be easily tucked away in your pocket or backpack without worrying about it breaking or taking up too much space. This innovation has amazing potential for creating new types of technology that can go places that are currently inaccessible with traditional devices. The possibilities are endless! So, are you ready to experience the convenience and flexibility of this new technology? What do you think the potential applications for this kind of device could be? Let us know in the comments below!
Flexible electronic devices may be provided that include a flexible display, a flexible housing, and one or more flexible internal components that are configured to allow the device to be deformed. Flexible displays may include flexible display layers, flexible touch-sensitive layers, and flexible display cover layers. The flexible housing may be a multi-stable flexible housing having one or more stable positions. The configurable support structure when engaged provides a rigid support structure for the device. Theflexible internal components may include flexible batteries, flexible printed circuits or other flexibles components. A flexibile battery can have both rigid and flexable portions or it can have a lubricious separator layer that provides flexibility for the battery. A flexibile printed circuit can include both rigid andflexible portions or openings that allow some rigid portions to flex with respect to other rigid portions
US Patent 11675390
Apple Inc.
Power-Efficient Apparatus With Power Credit Pool
What is this invention?
Power sense correction for power budget estimator
There was an apparatus with a queue,
Which had circuits both power sensing and predicting too.
The first credits withdrawn from the pool,
Were based on predicted power consumption's rule.
The second amount of credits were due to the node,
For less than expected power consumption shown.

Have you ever worried about leaving your electronic device on for too long and draining the battery? Well, worry no more! A new patent has been developed that includes an execute circuit, power estimator circuit, and power sensing circuit that work together to predict and monitor power consumption. The power estimator circuit predicts how much power will be used during an operation and removes power credits from a pool based on that prediction. The power sensing circuit then monitors the power supply node during operation and calculates actual power used. If the actual power consumed is less than the predicted amount, the power sensing circuit will deposit power credits back into the pool. This new technology could help prevent batteries from being drained too quickly and potentially extend the lifespan of electronic devices. It's exciting to see how new inventions like this are constantly being developed to make our lives easier and more efficient! Do you think this technology could potentially be applied to larger-scale energy systems, such as power grids? What other applications do you see for this type of power management technology? Let us know in the comments below!
An apparatus includes an execute circuit configured to execute a plurality of operations received from a queue, as well as a power estimator circuit and a power sensing circuit. The power estimator circuit is configured to predict power consumption due to execution of a particular operation of the plurality of operations, and to withdraw, based on the predicted power consumption, a first amount of power credits from a power credit pool. The power sensing circuit is configured to monitor one or more characteristics of a power supply node coupled to the execute circuit to generate a power value, and to deposit the second amount of power credits into thepower credit pool. The second amount ofpower credits may be based on thepower value indicating thatpower consumed duringthe executionof theregularoperation is less thanthepredictedpower consumptionsensingcircuitisconfiguredto generate apower value.
US Patent 11675409
Apple Inc.
Device Alerts when User is Not Paying Attention to It
What is this invention?
Attention detection service
A device with an attention service,
Monitors peripherals in the presence;
Clients can register or poll,
For when user's not on the scroll,
To reduce energy and save expense.

Are you tired of constantly having to charge your smartphone or tablet? Well, get ready for a game-changing invention that will significantly extend your device's battery life. This new patent introduces an attention detection service that will monitor the user's interaction with the device and adjust its energy consumption accordingly. This technology has the potential to revolutionize the way we use our devices. With the attention detection service, the device will know when the user is not paying attention and can go into a low-power mode to reduce energy consumption. This not only extends battery life but also reduces the device's impact on the environment by decreasing the amount of energy consumed. While some may be concerned about their device potentially turning off or going into low-power mode without warning, the patent describes various clients that can register for notifications of attention detection and loss, or can manually check for these events. This allows the user to remain aware of their device's status and be able to take action to prevent the device from entering low-power mode when they need it.Overall, this attention detection service is a promising development in the world of technology. It has the potential to not only benefit the user by extending battery life but also the environment by reducing energy consumption. What are your thoughts on this new technology? Do you have any concerns about its implementation or use? Let us know in the comments below!
The device may include an attention detection service that monitors various peripheral devices in the device for indications that a user is paying attention to the device. Various clients may register for notification of attention detection and attention lost (attention no longer detected) events, or may poll the service for the events. If a user is not paying attention to the device, it may be possible to take various actions to permit reduced energy consumption.
US Patent 11675412
Dell Products L.P.
Cooling System Keeps Data Processing Running Smoothly
What is this invention?
Information handling system with airflow and acoustics vane for hard disk drive throughput
A fan system with two vane arrays,
To cool down hard drives and GPU's;
The CPU complex, the I/O,
For info handling flow;
All this tech has us in a daze!

Innovation never stops in the tech industry; we have seen it progress tremendously over the years. Recently, a new patent has been filed, which has grabbed the attention of a lot of tech enthusiasts. The patent describes an information handling system that includes multiple hard disk drives, a central processing unit (CPU) and memory complex, a graphics processing unit (GPU) and input/output (I/O) complex, multiple cooling fans, and first and second airflow vanes. The cooling fans pull in airflow through the hard disk drives and push the airflow through both the CPU and memory complex and the GPU and I/O complex. The most interesting aspect is that the first and second airflow vanes are located between the hard disk drives and the cooling fans. These vanes are in a first configuration when the information handling system is in a CPU and memory centric configuration, and in a second configuration when the information handling system is in a GPU and I/O centric configuration.Integrating these airflow vanes into the system will help maintain optimal temperature levels in the system while switching between CPU and GPU intensive applications. The setup will ensure that the respective component keeps running efficiently and doesn't heat up, leading to prolonged longevity of the system.Overall, this innovation will prove to be a game-changer for desktop systems. It is an exciting time to see what the future holds for us in terms of technological advancements. What are your thoughts on this new setup? Do you think this will be the new standard for high-performance desktop systems? Share your views in the comments below.
An information handling system includes multiple hard disk drives, a central processing unit (CPU) and memory complex, a graphics processing unit (GPU) and input/output (I/O) complex, multiple cooling fans, and first and second airflow vanes. The cooling fans pull in airflow through the hard disk drives and push the airflow through both the CPU and memory complex and the GPU and I/O complex. The first and second airflow vanes are located between the hard disk drives and the cooling fans. The first configuration is when the information handling system is in a CPU-centric configuration, while in the second configuration it is in a GPU-centric configuration.
US Patent 11675397
Dell Products L.P.
Portable Information Handling System with Air Channeling Component
What is this invention?
Thermal venting in a portable information handling system
A main housing portion was described,
With a top cover and bottom in sight.
An internal air intake ducting system had a fan,
And a thermal channeling component to enhance the plan.
The side of the bottom cover and fan did combine,
Forming an air channel that worked just fine!

Are you tired of overheating laptops and slow information handling systems? Look no further than this innovative new portable information handling system housing! This housing includes a top cover and bottom cover, but what really sets it apart is the internal air intake ducting system. With a fan and thermal channeling component, this system is designed to efficiently cool the device and prevent overheating. The thermal channeling component extends from the interior of the bottom cover to the fan, creating an air channel that maximizes cooling efficiency. Say goodbye to slow processing and hello to a device that can handle all your information needs without overheating. What do you think is the most important feature in a portable information handling system housing? Let us know in the comments below!
A main housing portion of a portable information handing system is described. The main housing portion includes a top cover portion, a bottom cover portion, and an internal air intake ducting system. The internal air intake ducting system includes a fan and a thermal channeling component thermally coupled to the fan. The thermal channeling component extends from an interior of a side of the bottom cover portion to the fan. The thermal channeling component and the bottom cover portion define an air channel between the side of the bottom cover portion and the fan.
US Patent 11675401
Dell Products L.P.
Keep your data safe with our new fan speed control!
What is this invention?
Maintaining a threshold operating temperature in an information handling system
There was a system that needed heat,
It had fans to help it compete.
The temperature rose high,
So the power did apply,
To keep the temperature at its feat.

Do you know that feeling of your laptop getting increasingly hot and noisy while you try to work on it? Well, it seems like a new patent might have come up with a solution to that problem. The patent describes a method for maintaining a threshold operating temperature in an information handling system which involves using fans to regulate temperature and power consumption levels. The method starts by identifying the operating temperature of the system and determining the first speed for one or more fans based on that temperature. As the temperature increases and reaches a threshold level, the system switches to identifying the power consumption level associated with it. It will then determine a second fan speed accordingly, and cause the fans to rotate based on the new speed setting. This patent seems like a very promising invention that can significantly improve the cooling system of information handling systems such as laptops or desktops. The idea of adjusting the fan speed based on both operating temperature and power consumption level is a very clever way of ensuring that the system is effectively cooled without using more power than necessary. This can result in a quieter and more energy-efficient system.In conclusion, this patent provides a great innovation in the field of information handling systems. It promises to tackle the common issue of noise and overheating that can be a nuisance for anyone trying to work on their devices. What do you think about this new patent? Do you see this as a significant improvement in the technology of cooling systems? Share your thoughts in the comments below!
In one embodiment, a method for maintaining a threshold operating temperature in an information handling system includes identifying an operating temperature associated with the information handling system, determining a first fan speed associated with one or more fans of the information handling system based on the operating temperature, causing the one or more fans to rotate based on the first fan speed, identifying that the operating temperature has increased to reach the threshold operating temperature, and in response to identifying that the operating temperature has increased to reach the threshold operating temperature: determining a power consumption level associated with the information handling system; and causing the one or more fans to rotate based on the second fan speed.
US Patent 11675402
Dell Products L.P.
Reducing Power Consumption at an Information Handling System (IHS)
What is this invention?
Reducing power consumption of memory devices at an information handling system
A system for reducing power use,
At IHS it's not hard to deduce.
First data set at first device,
Second data set at second device,
When out-of-focus applications detected, low power state you can't refuse!

Power consumption has always been a crucial issue when it comes to information handling systems (IHS). Reducing power requirements and improving efficiency are always at the forefront of every engineer's mind. That's where new inventions come into play. A recent patent aims to reduce power consumption by identifying the first and second data sets associated with different applications and storing them in different physical storage devices.To further conserve power, the system determines if the first and second applications are inactive with respect to the operating system of the IHS. If not, it maintains a low power state of the physical storage devices. But when the first application is in focus with respect to the OS, the system adjusts the power state of the first storage device from low to active while still keeping the second device in a low-power state. This patent offers a brilliant solution to the problem of power consumption in IHSs while maintaining their efficiency and overall functionality. As the digital age gets more prolonged and data becomes even more significant, such solutions are becoming crucial.So, the question is, do you think that this patent may invigorate future developments in data storage and address the constantly rising power consumption issues exerted by IHS? Please share your opinion with us in the comments below.
Reducing power consumption at an information handling system (IHS), including identifying a first data set associated with a first application, and a second data set associated with a second application; storing the first data set at a first physical storage device, and storing the second data set at a second physical storage device; reducing power consumption of a storage device system by maintaining low power state of the first and the second physical storage devices when out-of-focus applications are detected. When in-focus applications are detected, the low power state is transitioned to active power state.
US Patent 11675413
Dell Products L.P.
Get your source code ready for documentation – with our system, method and computer-readable medium!
What is this invention?
System and method for continuous development and continuous integration for identified defects and fixes of computing products
A system for dev and CI,
Supports docs with ease--oh gee!
The source code is received,
Determinations then conceived;
If compliant, it's good to see!

Are you tired of spending hours documenting and tracking changes in your software development process? Look no further than this new patent which aims to streamline the documentation process in continuous development and integration for specific product lines. The system is able to receive source code related to particular product lines, and through a series of determinations, convert it to a standardized language that is compliant with document standards. This compliant source code can then be easily consumed by an authoring environment for the creation of documentation related to the specific product line.For software developers, this means more time spent improving and perfecting their code instead of documenting all the issues, bugs, and enhancements. This new patent offers a solution to optimize the process, making it faster and more efficient. What do you think about this new system? Do you believe it can truly make a difference in the software development world? Let us know your thoughts in the comments below.
The system, method, and computer-readable medium described herein can be used for providing documentation supporting continuous development and continuous integration. Source code from product development is received as to issues, such as bugs, defects, fixes and enhancements related to specific product lines. A determination is then made as to whether the source code is complete or locked. If the source code is complete, it is converted to a standardized language. Another determination is then made as to whether the converted source code complies with a document standard. Compliant document standard source code can be consumed by an authoring environment for the documentation related to the specific product line.
US Patent 11675583
Intel Corporation
Low-Profile Gimbal Platform Improves Probe Card Alignment
What is this invention?
Low-profile gimbal platform for high-resolution in situ co-planarity adjustment
A low-profile gimbal platform was found,
To reduce planar errors all around.
It had linear actuators and pistons galore,
Which helped achieve co-planarity for sure.
This in situ adjustment would not fail,
Reducing the malfunction of a probe card's tail!

Are you tired of experiencing malfunctions due to misalignment of your probe card and semiconductor wafer? Look no further because this low-profile gimbal platform is here to solve your problems! With its cutting-edge technology, the gimbal platform includes a number of linear actuators and pistons to perform high-precision planarity adjustments in situ to achieve co-planarity between your probe card and wafer. The platform's ability to reduce planar error is thanks to its unique design, which allows it to be coupled between your probe card and tester head. With this technology, you can now achieve co-planarity between your probe card and wafer, significantly reducing the likelihood of malfunctions due to misalignment. This invention is a powerful tool in the world of technology, and I'm excited to see what advancements it will lead to. What do you think of this cutting-edge technology? Would you use it in your workplace? Let us know in the comments below!
The article discusses how a low-profile gimbal platform may be used to reduce the likelihood of planar errors between a probe card and a semiconductor wafer. The gimbal platform includes a number of linear actuators and pistons that are used to perform high-precision in situ planarity adjustments to the probe card, which can help achieve co-planarity between the probe card and the semiconductor wafer. This may help reduce the likelihood of malfunctions due to misalignment of the probe card.
US Patent 11674980
Intel Corporation
Test Mode Signal Provides Error Reporting Sequence
What is this invention?
Interconnect retimer enhancements
A method for testing was found,
For a signal to be sent around.
It had a test pattern and an error report too,
To encode info on the network's sublinks view.
The results were quite clear, it would seem;
This method was just what they did need!

Something exciting is brewing in the tech world that could revolutionize error reporting! A new patent has been filed that aims to introduce a test mode signal designed to include both a test pattern and an error reporting sequence. Essentially, the signal is sent on a specific sublink within a link that contains several sublinks, and the error reporting sequence is meant to identify any potential errors on that particular sublink. This patent could mean big things for error monitoring and reporting. By allowing devices to easily and quickly identify and report errors, it becomes easier for developers to address and fix issues that could otherwise go unnoticed. Plus, the use of a test pattern alongside the error reporting sequence means that potential issues can be caught early on, before they have a chance to develop into serious problems. What do you think of this new invention? Do you think it will have a significant impact on the way we detect and respond to errors in technology? Let us know in the comments below.
This document describes a method for generating and transmitting a test mode signal on a network. The test mode signal includes a test pattern and an error reporting sequence. The error reporting sequence is used to encode information about the status of sublinks on the network.
US Patent 11675003
Intel Corporation
First Computing Node Executes Kernel on FPGA
What is this invention?
Method and apparatus for remote field programmable gate array processing
A kernel to execute on an FPGA
Was requested from a second node far away
The fabric controller knew what to do
And instructed the FPGA just so,
The result was sent back without delay!

Are you ready for a game-changing new technology? A recently patented apparatus can execute complex computational kernels more efficiently than ever before. This involves a first computing node with a fabric controller that receives a request from a second computing node, instructs an FPGA to execute the kernel, and then sends the result of that execution back to the second computing node. This technology is incredibly powerful and will likely have many applications in the future. But what does this mean for the average person? How will this technology impact our daily lives? Will it make our devices faster and more efficient? Or will it have a more significant impact on industries like medicine or finance? I would love to hear your thoughts on the matter. Please share in the comments below!
The text describes a method of executing a kernel on an FPGA in a first computing node. The fabric controller receives a request from the second computing node, and instructs the FPGA to execute the kernel. The result of the execution of the kernel is then sent to the second computing node.
US Patent 11675326
Intel Corporation
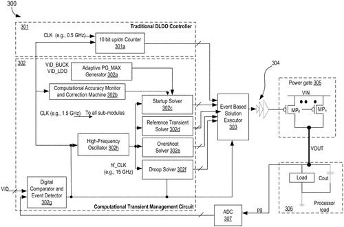
A Computational Digital Low Dropout Regulator Scales with Technology
What is this invention?
Variable-adaptive integrated computational digital low dropout regulator
A digital Low Dropout regulator,
Computes a required solution greater;
Moore's Law friendly it will scale,
Dynamic DVFS enabled with no fail,
Autonomously tunes out non-idealities to settle the tale.

If you are an enthusiast for the latest advancements in digital technology, you will be excited to hear about the new Computational Digital Low Dropout regulator. Unlike traditional feedback controllers, this technology computes a required solution for regulating an output supply, making it much faster than its predecessors. Moreover, the CDLDO regulator is able to autonomously tune out the effects of non-idealities such as process-voltage-temperature, making it totally variation tolerant. The beauty of this technology is that it is Moore's Law friendly, which means that it can scale with technology nodes. Furthermore, the CDLDO regulator uses a digital approach to voltage regulation that is orders of magnitude quicker than traditional digital LDOs, enabling regulation at GHz speeds and making fast dynamic DVFS a reality.In conclusion, the Computational Digital Low Dropout regulator is a groundbreaking technology that promises to revolutionize the world of digital regulation. It has excellent scalability and speed, as well as advanced autonomous tuning capabilities. What applications do you think could benefit from the record-breaking speeds of the CDLDO regulator? Leave your thoughts in the comments below.
The Computational Digital Low Dropout (CDLDO) regulator is described that computes a required solution for regulating an output supply as opposed to traditional feedback controllers. The CDLDO regulator is Moore's Law friendly in that it can scale with technology nodes. For example, CDLDO regulator of some embodiments uses a digital approach to voltage regulation, which is orders of magnitude faster than traditional digital LDOs and enables regulation at GHz speeds, making fast dynamic DVFS a reality. The CDLDO also autonomously tunes out the effects of process-voltage-temperature (PVT) and other non-idealities making the settling time totally variation tolerant.
US Patent 11675379