Most innovative companies for 04/18/2023 (new inventions)
Exciting new inventions from Covidien Lp, Koninklijke Philips N.V., Becton, Dickinson And Company, and Medtronic, Inc.
This is a weekly article summarizing a handful of inventions from the most innovative companies in the world. The summaries are created by an A.I. and proof-read by a human before publication. Attempts are made to ensure accuracy of the descriptions, but it is very much a work in progress. Each invention description is preceeded by a poem about the invention that is written by the A.I. I have found the limerick is actually quite good at explaining the invention in simple terms. Enjoy!
Covidien LP
A reusable surgical device that eliminates the risk of infection and damage to electronics
What is this invention?
Surgical stapling device
A reusable surgical device so neat,
Includes a housing that stores heat.
It helps to evaporate,
Water from the plate,
To keep infection off of your feet!

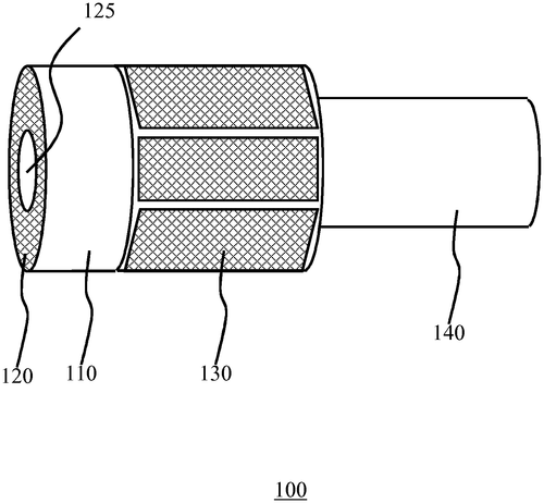
We are excited to review the latest invention from Covidien LP - a reusable surgical stapling device that is designed to minimize any risk of infection or damage to electronics due to water remaining within the device. This innovative device includes thermal energy storage members that store heat during the cleaning and sterilization process, which then evaporates any water residue in order to reduce the chance of contamination or malfunction. This revolutionary technology makes it easier than ever before for surgeons and medical staff alike to perform surgeries with confidence knowing their equipment is safe and secure. The added layer of protection against potential infections also helps ensure patients receive optimal care without having to worry about unnecessary risks associated with using traditional surgical devices. With this new advancement, we can look forward to safer surgeries being performed all around the world!
A reusable surgical device includes a housing or body that supports one or more thermal energy storage members that retain or store heat during a cleaning and sterilization process. The stored heat functions to evaporate water that remains within the body or housing of the surgical device after the cleaning and sterilization process is completed to minimize any likelihood of infection of a patient or damage to electronics within the surgical device that may result or occur due to the presence of the water within the surgical device.
US Patent 11627966
Covidien LP
A Trans-Anastomotic Insertion Device That Adds Strength
What is this invention?
Trans-anastomotic insertion device
A trans-anastomotic insertion device,
With a body that had distal and proximal ends.
It had ribs for rigidity,
And protrusions with agility,
To provide strength to resist torsional trends.

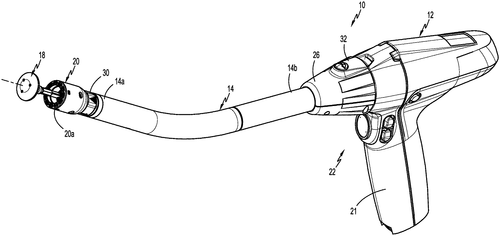
Covidien LP has just unveiled their new Trans-anastomotic insertion device, a revolutionary device designed to make surgical procedures easier and more efficient. This device features a body with three distinct portions – the distal portion, which includes a blunt end and longitudinal ribs for added rigidity; the central portion, which is circular in shape and includes protrusions that fit into staple pockets of stapling devices; and the proximal portion, which has splines that are received between splines on shell housing of stapling devices. What makes this device truly stand out is its ability to resist high torsional forces during insertion into an incision in a body cavity. This ensures that it can be used safely without fear of damaging tissue or causing injury. With this trans-anastomotic insertion device from Covidien LP, surgeons can now perform various types of surgeries with greater accuracy and efficiency than ever before!
The trans-anastomotic insertion device includes a body having a distal portion, a proximal portion, and a central portion. The distal portion has a blunt distal end, a width that decreases from its distal end to its proximal end, and longitudinal ribs that provide rigidity to the distal portion. The central portion has a circular configuration and includes a proximally facing surface that includes protrusions that are positioned to be received within staple pockets of a reload assembly of a stapling device. The proximal portion includes a central post that includes splines that are received between splines on the shell housing of the stapling device. This provides added strength to the insertion device to resist high torsional forces that may be applied during insertion of surgical devices through incisions into bodies cavities
US Patent 11627967
Covidien LP
Hermetic Seal Keeps Ultrasonic Surgery Instrument Precise and Silent
What is this invention?
Ultrasonic transducer assembly and ultrasonic surgical instrument incorporating the same
An ultrasonic transducer assembly,
Piezoelectric stack and horn, so classy.
The casing defines a distal opening,
To form hermetic seal in the morning.
Hermetically sealed interior is what they will see!

Covidien LP has just released an innovative new ultrasonic transducer assembly and ultrasonic surgical instrument that is sure to revolutionize the medical industry. This new device features a piezoelectric stack, an ultrasonic horn with a body and nose extending distally from the body, as well as an overmold seal formed around the body of the horn. The casing surrounding all of these components defines a hermetically sealed interior that encloses both the piezoelectric stack and body of the horn. This advanced technology offers surgeons unprecedented precision during procedures while ensuring maximum safety for patients by creating a secure environment in which to operate. With its unique design and modern features, this product from Covidien LP is sure to become one of the most sought-after devices for medical professionals everywhere!
An ultrasonic transducer assembly of an ultrasonic surgical instrument includes a piezoelectric stack, an ultrasonic horn secured to and extending distally from the piezoelectric stack and including a body and a nose extending distally from the body, an overmold seal formed about the body of the ultrasonic horn, and a casing disposed about the piezoelectric stack, the body of the ultrasonic horn, and the overmold seal. The casing defines a distal opening through which the nose of the ultrasonic horn extends. The overmold seal establishes a hermetic seal with the casing to define a hermetically sealed interior enclosing the piezoelectric stack and the body of the ultrasonic horn therein.
US Patent 11627981
Covidien LP
Tissue Guard for Surgical Access Devices - Induces Smoke Evacuation
What is this invention?
Low impact cutting guard
A tissue guard with a surgical device,
Its proximal lip to mount on the rim.
An annular channel was defined,
To direct gases and smoke combined,
And one or more fingers to hold it in place so trim!

Covidien LP has unveiled its latest innovation in surgical access devices - the Low Impact Cutting Guard. This tissue guard is designed to mount atop a rim of an access device, with an annular channel directing surgical gases from the lumen to a smoke evacuation system. The neck of this annular channel has been specially engineered to induce the evacuation of surgical gases or smoke through it, making for a safer and more efficient operation. Additionally, one or more fingers extend from the proximal lip so that it can be securely fastened onto an access device. This cutting guard is sure to revolutionize surgeries by providing better protection against dangerous fumes and other hazardous materials that are often released during operations. With Covidien's Low Impact Cutting Guard, surgeons will now have greater peace of mind knowing their patients are safe and secure throughout procedures!
The tissue guard for use with a surgical access device includes a body having a proximal end, a distal end and lumen defined therebetween. A proximal lip extends radially from the proximal end and is configured to mount atop a rim of an access device. The proximal lip includes an annular channel defined therein disposed in fluid communication with the lumen, the annular channel configured to direct surgical gases from the lumen to a smoke evacuation system. The annular channel includes a neck defined therein disposed between the lumen and the annular channel, the neck having geometry configured to induce the evacuation of surgical gases or smoke therethrough. One or more fingers extend from the proximal lip and are configured to engage an access device to secure the tissue guard thereon.
US Patent 11627987
Covidien LP
Tissue guard with finger for securement
What is this invention?
Snap-fit cutting guard
A tissue guard that's quite a sight,
Has an open end that is just right.
It has a lip and finger too,
For the proximal ring to glue.
Securely fastened with no fright,
All thanks to this clever device so bright!

Covidien LP has just released their new Snap-fit Cutting Guard, a tissue guard designed to provide superior protection during medical procedures. This device features a body with an open proximal end and distal end, as well as a lumen extending through the body between the two ends. A lip extends radially outward from the open proximal end of the body, complete with a finger that includes a flange at its distal end for easy engagement of an access device's proximal ring. The Snap-fit Cutting Guard also offers superior safety and security when compared to other tissue guards on the market today. With this innovative product from Covidien LP, you can rest assured that your procedure will be safe and secure every time!
A tissue guard includes a body defining an open proximal end, an open distal end, and a lumen extending through the body between the open proximal end and the open distal end. A lip extends radially outwardly from the open proximal end of the body, the lip including a finger extending from an exterior peripheral surface thereof. The finger includes a flange at a distal end thereof adapted to operably engage an underside of a proximal ring of an access device to secure the tissue guard therein.
US Patent 11627988
KONINKLIJKE PHILIPS N.V.
Detecting Atrial Fibrillation with AI
What is this invention?
Detecting atrial fibrillation using short single-lead ECG recordings
There once was a method for AF,
A time-freq rep of ECG to have.
Processed by a neural net,
It'll assign you a bet,
To detect it with electronics so savvy!

KONINKLIJKE PHILIPS N.V., is always looking for new and innovative ways to improve healthcare technology. Today, we are proud to review our latest invention - a method for detecting atrial fibrillation using short single-lead ECG recordings. This revolutionary system uses a neural network (NN) to generate time-frequency representations of the electrocardiogram signal, which can then be used to accurately assign rhythms and display them on a display device. This breakthrough in medical diagnostics will help doctors diagnose and treat patients with atrial fibrillation more quickly and effectively than ever before!
The text describes a method for detecting atrial fibrillation (AF) using an electronic processor. The method includes generating a time-frequency representation of an ECG signal over a time interval, processing the time-frequency representation using a neural network to output probabilities for rhythms of a set of rhythms including AF, and assigning a rhythm for the ECG signal based on the probabilities for the rhythms of the set of rhythms output by the neural network. The display device is then controlled to display the rhythm assigned to the ECG signal.
US Patent 11627905
KONINKLIJKE PHILIPS N.V.
Ultrasound Window Made from Harder Elastomer
What is this invention?
Imaging device with ultrasound transducer array
A device with an ultrasound transducer array
Had an acoustic window of hydrocarbon elastomer
The first layer had antioxidant added to it,
And the second layer was harder than bit.
For better sound transmission this imaging device must be seen!

KONINKLIJKE PHILIPS N.V. has just released a revolutionary imaging device with an ultrasound transducer array that promises to revolutionize medical diagnostics and treatments. This new device features an acoustic window on its ultrasound emitting surface, which is composed of two layers of hydrocarbon elastomers. The first layer contains an antioxidant, while the second layer has a greater Shore A hardness than the first layer for improved durability and performance. This new Imaging Device with Ultrasound Transducer Array from KONINKLIJKE PHILIPS N.V., offers incredible accuracy and precision in medical diagnosis and treatment applications due to its advanced design features such as the two-layer acoustic window for enhanced protection against wear and tear over time. Furthermore, this system can be used in combination with other ultrasounds imaging systems such as catheters, making it even more versatile for use in various settings within healthcare facilities around the world! With this groundbreaking technology at your fingertips, you have all you need to ensure accurate diagnoses every time!
The imaging device (100) includes an ultrasound transducer array (101, 120, 130) having a plurality of ultrasound transducer elements defining an ultrasound emitting surface. The acoustic window (220) is on the ultrasound emitting surface and comprises a first layer (221) of a hydrocarbon elastomer contacting the ultrasound emitting surface, and a second layer (223) of a further hydrocarbon elastomer on the first layer. The first layer has an antioxidant added to it, while the second layer has a greater Shore A hardness than the first layer. This allows for better sound transmission through the acoustic window. Additionally, the imaging device also includes an ultrasound imaging system (10), such as a catheter (100), that uses this acoustic window to image patients.
US Patent 11627938
KONINKLIJKE PHILIPS N.V.
Ultrasound Probe Delays Echo Signals by Fraction of a Clock Cycle
What is this invention?
Ultrasound probe with digital microbeamformer using fir filters with no multipliers
There once was a probe that could sound,
An array transducer it had found.
A digital microbeamformer so fine,
Delayed echo signals were its design.
No multipliers needed to weigh,
For the FIR filter saved power all day!

We are excited to announce KONINKLIJKE PHILIPS N.V.'s latest innovation: an ultrasound probe with a digital microbeamformer using FIR filters with no multipliers. This new technology is designed to help conserve power by weighting digital echo signals without the use of any digital multipliers, allowing for more efficient and accurate imaging results. It also produces delayed echo signals that are fractionally delayed by one clock cycle of received digital echo signals, giving you even greater control over your imaging process. This groundbreaking new technology from KONINKLIJKE PHILIPS N.V. will revolutionize the way we view medical imaging, making it easier than ever before to get precise images in a timely manner while conserving energy at the same time - all thanks to this innovative new ultrasound probe!
This text describes the use of an ultrasound probe which contains an array transducer and a digital microbeamformer. The digital microbeamformer is capable of producing delayed echo signals which are a delayed by a fraction of a clock cycle of received digital echo signals. The fractional delay is produced by an FIR filter which conserves power by weighting digital echo signals without the use of digital multipliers.
US Patent 11627940
KONINKLIJKE PHILIPS N.V.
Ultrasound Imaging System Tweaks Images to Better Reveal Health Issues
What is this invention?
Ultrasound imaging system and method for deriving depth and identifying anatomical features associated with user identified point or region
There was an ultrasound imaging system,
With a display and user interface that would glisten.
It could identify points or regions of the displayed image,
And tailor the imaging to each nook and ridge.
The depth associated with it all made it sublime;
A remarkable tool for physicians in their prime!

KONINKLIJKE PHILIPS N.V. has developed an innovative ultrasound imaging system that is designed to make it easier for medical professionals to accurately identify and measure the depth of anatomical features in their patients. This revolutionary system utilizes a user interface which allows practitioners to easily select a point or region on the displayed image, after which the imaging process is automatically tailored to provide more detailed information about that particular area. The system also provides an accurate measurement of the associated image depth, allowing for greater precision when diagnosing conditions such as tumors or other abnormalities. With this new technology, doctors can now quickly and accurately diagnose ailments without having to perform lengthy manual measurements - making diagnosis faster and simpler than ever before!
The text describes an ultrasound imaging system that includes a display for displaying a received ultrasound image, a user interface for receiving user commands for controlling the ultrasound imaging process, and a user input which identifies a point or region of the displayed ultrasound image. An image depth is determined which is associated with the identified point or region and the imaging process is controlled to tailor the imaging to the identified point or region.
US Patent 11627943
Becton, Dickinson and Company
A Controlled Delivery Syringe Device Provides Tactile Feedback
What is this invention?
Controlled delivery syringe device
A controlled delivery syringe device,
Has a barrel and plunger at its base.
The rod has periodic features,
To keep track of doses with ease,
And a counter member to give tactile feedback in the space.

Becton, Dickinson and Company is proud to review their latest innovation - the Controlled Delivery Syringe Device. This revolutionary device is designed to make administering injectable material easier than ever before. The syringe barrel includes a proximal end and distal end which defines a chamber for containing an injectable material, while the plunger rod is associated with the syringe barrel and secured thereto. The unique feature of this device lies in its ability to provide tactile feedback of dose progression of the injectable material - as you apply pressure on the plunger rod, it will disengage and reengage with sequentially spaced periodic features on the plunger rod that enable advancement in small increments. This ensures that your dosage can be accurately measured every time without any guesswork or risk of over-injecting or under-injecting medication. In addition, this system can also be retrofitted onto existing syringes so you don't have to purchase an entirely new set up each time you need one! We believe this technology will revolutionize how medical professionals administer medications safely and efficiently.
The controlled delivery syringe device includes a syringe barrel having a proximal end and distal end which defines a chamber for containing an injectable material. A plunger rod is associated with the syringe barrel and a plunger is secured thereto which is axially movable within the syringe barrel. A plurality of equally and sequentially spaced periodic features are associated with the plunger rod and a counter member is engageable with the periodic features. Application of a distally directed force to the plunger rod results in disengagement and reengagement of the counter member with the sequentially spaced periodic features on the plunger rod, enabling advancement of the plunger rod and plunger in the syringe barrel while providing tactile feedback of dose progression of the injectable material.
US Patent 11628258
Becton, Dickinson and Company
Male Connectors Keep Devices Together
What is this invention?
Drug delivery connectors
A device with male and female connectors,
It's not compatible when they're opposers.
The male has a tip and collar,
With ribs to not let her enter,
To make sure the fit is proper for users.

We’ve all experienced the frustration of trying to connect two devices only to find out that they are incompatible. But thanks to Becton, Dickinson and Company, those days may soon be a thing of the past! Their new drug delivery connector is designed with male connectors that have an elongate tip and a collar with ribs on either its inside or outside surface. This prevents non-compatible female connectors from entering the channel between them. Additionally, their device also includes a compatible female connector with a threaded portion for engaging the corresponding threaded portion of the male connector. This innovation is sure to make connecting devices much easier in medical settings where accuracy and precision are essential. No more worrying about compatibility issues - just plug it in and you’re good to go! With this new drug delivery connector from Becton, Dickinson and Company, even complex connections can be made quickly and easily.
Devices having male connectors for preventing connection to non-compatible female connectors are described. An exemplary male connector includes an elongate tip and a collar disposed coaxially around the elongate tip including a plurality of ribs disposed on either an inside surface or an outside surface of the collar for preventing entry of a non-compatible female connector into a channel formed between the elongate tip and the collar. One or more embodiments pertain to a device with a male connector and a compatible female connector including a threaded portion for engaging a corresponding threaded portion of the male connector.
US Patent 11628262
Becton, Dickinson and Company
A Catheter Assembly That Secures Septum in Vasculature
What is this invention?
Septum securement
There once was a catheter assembly,
With an adapter that had a septum pass-le.
It could be secured in place,
By stoppers and with grace,
So doctors wouldn't worry about misplacement!

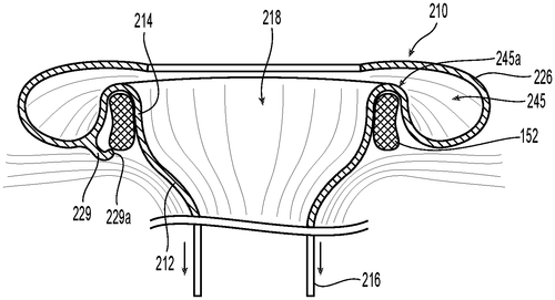
Becton, Dickinson and Company is proud to review their latest innovation - Septum Securement. This catheter assembly is designed to provide a secure seal within the lumen of a catheter adapter when inserted into a patient's vasculature. The septum can be secured in place using one or more septum stoppers, a retention disc from a needle assembly, U-shaped washer, and/or conical washer. This technology provides an extra layer of security during any medical procedure involving the insertion of catheters into patients' veins or arteries. With this new development, you can rest assured that your procedures will be as safe and effective as possible!
The text describes a catheter assembly that includes a catheter adapter, which has a proximal end and a distal end. The distal end of the adapter may include a catheter configured to be inserted into vasculature of a patient. The adapter may also include a septum, which is disposed within the lumen of the adapter. The septum may be secured within the lumen in response to increased pressure by one or more of the following: one or more septum stoppers, a retention disc of a needle assembly, a U-shaped washer, and conical washer. This makes it possible for doctors to insert medical devices such as catheters without having to worry about them becoming dislodged or lost during surgery.
US Patent 11628273
Becton, Dickinson and Company
A Clamping Solution for Occluding Tubing
What is this invention?
Pinch clamp
A pinch clamp that is made with care,
Will keep IVs safe and quite rare.
The first arm has openings wide,
For tabs to slide inside,
To make sure it's not disengaged there!

Becton, Dickinson and Company is proud to review their new Pinch Clamp. This revolutionary clamp is designed to be used in occluding intravenous tubing or other similar tubing, and it includes patient comfort features as well as lateral disengagement prevention features. It's also been designed in a way that makes manufacturing easier than ever before - the first arm of the clamp is coupled to a second arm by hinges, which form a clamping surface when they are aligned. The first arm has opposing openings while the second arm has opposing tabs that insert through these openings when the arms are positioned overtop each other; this helps prevent separation of the two arms. Our Pinch Clamp is perfect for any medical professional who needs an easy-to-use tool for occluding IVs or similar tubes without sacrificing patient comfort or safety. We know you'll love using this product just as much as we do!
A pinch clamp for use in occluding intravenous tubing or other similar tubing can include patient comfort features and/or lateral disengagement prevention features. These features can also be designed in a manner that allows the pinch clamps to be more easily manufactured. A pinch clamp can include a first arm that is coupled to a second arm by hinges. Each of the first and second arms can form a clamping surface that are aligned when the first arm is positioned overtop the second arm. The first arm can include opposing openings and the second arm can include opposing tabs which insert through the openings when the first arm is positioned overtop the second arm. The retaining tabs interface with the openings to prevent the first arm from separating from the second arm.
US Patent 11628290
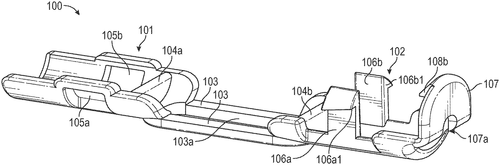
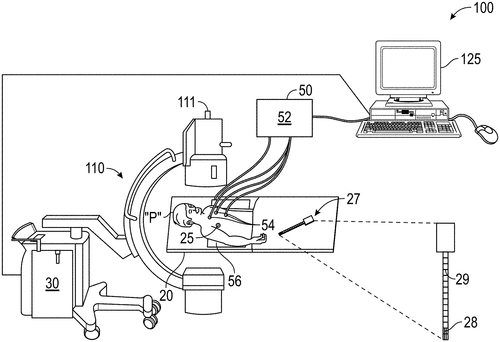
COVIDIEN LP
Image-Guided Medical Procedures Use Fluoroscopic 3D Reconstruction to Plan and Navigate a Percutaneously-Inserted Device
What is this invention?
Systems and methods for image-guided navigation of percutaneously-inserted devices
A document that describes the way
To use fluoroscopic 3D for play
It guides medical tools,
Minimizes tissue fools,
For precise targeting each day.

Today, we are excited to review a revolutionary medical procedure from COVIDIEN LP: Systems and methods for image-guided navigation of percutaneously-inserted devices. This groundbreaking technology uses fluoroscopic 3D reconstructions to plan and navigate a biopsy tool or other device from an entry point to its target with unprecedented accuracy. With this system, doctors can now perform minimally invasive procedures with greater precision than ever before, resulting in better outcomes for patients. The ability to accurately guide the insertion of tools into patient’s bodies is essential for successful medical treatments, and this new system from COVIDIEN LP offers unparalleled accuracy when navigating these devices. By using 3D imaging technology combined with sophisticated software algorithms, doctors can now be sure that their instruments are precisely placed in order to optimize the efficacy of their treatments while minimizing risk and discomfort for patients. We believe that this latest innovation from COVIDIEN LP will revolutionize the way medical procedures are performed by providing more precise guidance than ever before during percutaneous insertions - making it easier than ever before for physicians to deliver safe and effective care!
This document describes systems and methods for image-guided medical procedures using fluoroscopic 3D reconstructions to plan and navigate a percutaneously-inserted device such as a biopsy tool from an entry point to a target. The systems and methods allow for precise targeting of the device, minimizing potential damage to surrounding tissue.
US Patent 11627924
COVIDIEN LP
NEW Surgical Stapling Instrument Prevents Rotation during Firing
What is this invention?
Apparatus for endoscopic procedures
A surgical stapling instrument so fine,
It has an end effector and a drive beam line.
The adapter assembly is quite long,
With a pin to articulate the joint strong.
And rotation lockout prevents it from spinning around in its prime!

Today we are reviewing the latest innovation in surgical stapling instruments from COVIDIEN LP. This apparatus for endoscopic procedures is designed to provide surgeons with a tool that can be used to perform complex and precise operations while ensuring accuracy and safety. The instrument includes an end effector, adapter assembly, and rotation lockout assembly which work together to prevent rotation of the end effector during firing. Additionally, it has a staple cartridge assembly with a drive beam and sled carrying a knife that is rotatably supported on the sled so that it can move relative to the drive beam. With this innovative design, surgeons now have access to an even more reliable tool for performing delicate operations without compromising patient safety or results.
The surgical stapling instrument includes an end effector, an adapter assembly, and a rotation lockout assembly. The end effector includes a staple cartridge assembly and an anvil assembly that are coupled to a proximal housing and movably positioned relative to one another. The staple cartridge assembly has a drive beam and a sled. The sled carries a knife that is rotatably supported on the sled. The drive beam is configured to move the knife relative to the drive beam. The adapter assembly has an elongated shaft that extends distally to an articulating assembly. The articulating assembly includes distal and proximal joint members coupled by a pin to articulate the end effector. The rotation lockout assembly prevents rotation of the end effector during a firing of the surgical stapling instrument.
US Patent 11627963
COVIDIEN LP
Surgical Stapling Apparatus Includes Buttress Retention Assembly with Proximal Hook and Distal Slot
What is this invention?
Universal linear buttress retention/release assemblies and methods
A surgical stapling device, so neat
Includes a sleeve that's quite hard to beat
It has a hook and mouth
And the buttress material south
An inwardly extending boss it does meet!

COVIDIEN LP has just released a revolutionary new surgical stapling apparatus – the Universal Linear Buttress Retention/Release Assembly. This assembly provides a secure and reliable connection between the tool assembly of a surgical stapler and its buttress material, allowing for precise and accurate suturing. The system includes a sleeve that is detachably coupled with the first jaw member of the tool assembly, as well as a buttress material with an extending tab that fits into the proximal slot of the sleeve. In addition, there’s an inwardly-extending boss on the inner surface of the mouth which allows for easy release when necessary. This innovative design makes it easier than ever to perform suturing procedures accurately and quickly without sacrificing any safety or reliability. With this new technology from COVIDIEN LP, you can be sure your patients are in safe hands!
The surgical stapling apparatus includes a buttress retention assembly that includes a sleeve configured to be detachably coupled with a first jaw member of the tool assembly, and a buttress material. The sleeve includes a proximal hook extending transversely outward from a lateral side of the sleeve, and a mouth including a hook configured to be received in a knife slot of the first jaw member. The mouth includes an inner surface having an inwardly extending boss. The buttress material includes a tab extending transversely outward from a lateral side thereof. The tab defines a proximal slot configured to receive the proximal hook of the sleeve. At least a portion of the distal end portion extends through the mouth of the sleeve. The distal end portion defines a distal slot dimensioned to receive the boss of the sleeve.
US Patent 11627964
COVIDIEN LP
Long distance surgery with a robotic arm and slide
What is this invention?
Surgical robotic systems
A surgical robotic system was made
With a robotic arm, slide and grade
The instrument drive unit moves along the track
And can rotate relative to the arm's back
For actuating functions with ease it will aid.

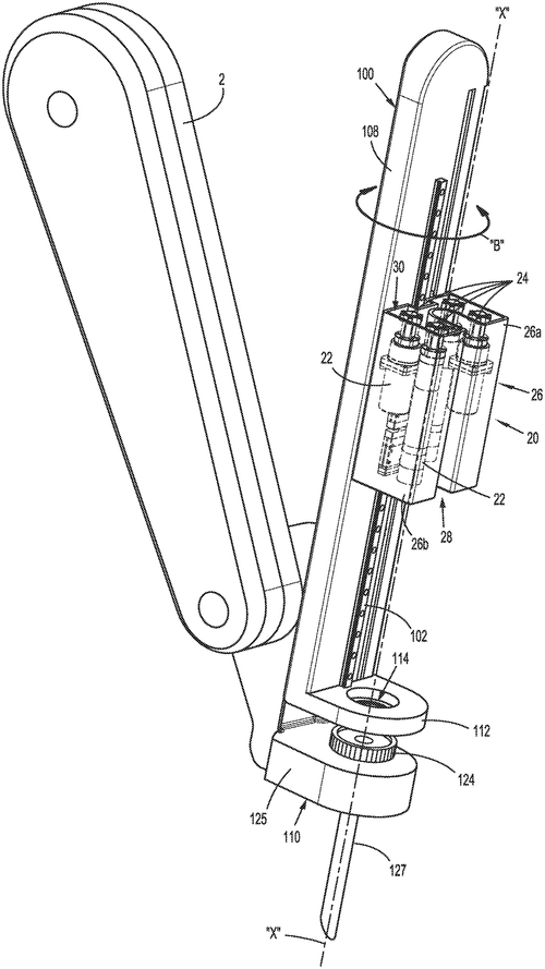
Today we are excited to review the newest innovation in surgical robotics from COVIDIEN LP: the Surgical Robotic System. This system includes a robotic arm, an elongated slide coupled to the robotic arm, and an instrument drive unit coupled to a track defined by the slide. The instrument drive unit is configured to move along the track and interface with an electromechanical instrument, allowing for precise actuation of functions within that device. Additionally, this system allows for rotation of the slide relative to the robotic arm around a longitudinal axis, providing even more control over your surgical procedure. This revolutionary new technology takes surgery into uncharted territory - it provides surgeons with unprecedented accuracy and precision when performing their operations. With its advanced features and capabilities, this system is sure to revolutionize how surgeries are performed all over world!
The text describes a surgical robotic system that includes a robotic arm, an elongated slide coupled to the robotic arm, and an instrument drive unit coupled to a track defined by the slide. The instrument drive unit is configured to move along the track and include a motor configured to interface with an electromechanical instrument to actuate functions of the electromechanical instrument. The slide is configured to rotate relative to the robotic arm about a longitudinal axis defined by the instrument drive unit.
US Patent 11628024
COVIDIEN LP
Robotic Surgery Gets a Force Detection System
What is this invention?
Robotic surgical systems and methods for monitoring applied forces
A robotic surgical system was made
It had a robotic arm and force detection grade
To detect the force applied to patient's side
As the arm moved in for its ride
The results were precise, no need to be afraid!

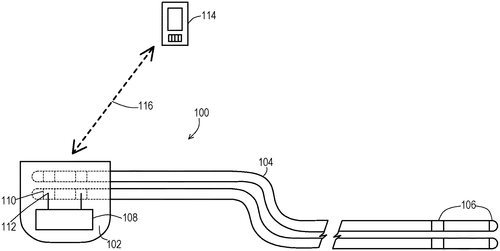
The future of surgery is here with the Robotic Surgical System from COVIDIEN LP. This revolutionary system features a robotic arm and a force detection system that can detect forces applied on a patient as the robotic arm moves into position. This ensures that surgeons have full control over their surgical procedures and can perform them safely and accurately, without putting unnecessary strain or pressure on patients. The force detection system also helps to reduce risks during surgery, making it an invaluable tool for medical professionals everywhere. With this groundbreaking technology, COVIDIEN LP is revolutionizing the way we approach surgical procedures - providing safer solutions with greater accuracy than ever before!
This text describes a robotic surgical system that includes a robotic arm and a force detection system. The force detection system is configured to detect a force being applied on a patient as the robotic arm is translated to a position relative to the patient.
US Patent 11628034
MEDTRONIC, INC.
See how doctors can determine lead orientation using this new method!
What is this invention?
Identification of orientation of implanted lead
A method was needed to determine
The rotational orientation of a lead,
So an image they'd obtain
To find the electrodes' domain,
And then markers and templates would proceed.

Medical technology continues to advance at a rapid pace, and MEDTRONIC, INC. is leading the charge with their newest invention - Identification of Orientation of Implanted Lead. This revolutionary new system uses imaging techniques to determine the rotational orientation of an implanted lead based on its template model. The process begins with obtaining an image of the lead that includes one or more electrodes positioned along its longitudinal axis as well as a plurality of orientation markers. The locations of both are then determined and compared to those in the corresponding template model, from which a transform can be calculated and used to calculate the lead's rotational orientation. This groundbreaking new technology from MEDTRONIC, INC will make it easier than ever before for medical professionals to identify leads quickly and accurately without having to manually measure each one individually - saving valuable time in operating rooms around the world!
This text describes an example method for determining the rotational orientation of a lead based on an image. The method includes obtaining an image of the lead, determining respective locations of the electrodes and respective locations of the orientation markers in the image, obtaining a template model corresponding to the lead, determining a transform between the determined locations of the electrodes and the plurality of orientation markers and locations of corresponding electrodes and orientation markers in the template model, and determining the rotational orientation of the lead based on the transform.
US Patent 11627913
MEDTRONIC, INC.
A Modular Valve Prosthesis Includes an Anchor Stent and a Valve Component
What is this invention?
Modular valve prosthesis with anchor stent and valve component
A modular valve prosthesis, so bold,
An anchor stent and a valve component hold.
The tubular frame member is self-expanding,
In the sinuses of the aortic valve standing.
Attachment members to secure it in place,
Ensuring its success with no disgrace!

We are excited to review the Modular Valve Prosthesis from MEDTRONIC, INC. This revolutionary device is designed to be used in aortic valve replacement procedures and it includes an anchor stent with a self-expanding tubular frame member that can be deployed in the aorta and a proximal arm component that extends into the sinuses of the aortic valve. Additionally, this prosthesis has attachment members on its internal surface which allow for secure connection to its valve component – which consists of both a valve frame and prosthetic valve. This modular design makes it easier than ever before for surgeons to perform complex operations such as heart valves replacements without having to worry about complicated setups or lengthy procedures. Furthermore, due to its self-expanding nature, this device requires minimal effort during deployment while still providing superior stability within the patient's body. With this new technology from MEDTRONIC, INC., we are now able to provide patients with better outcomes when undergoing these types of surgeries.
A modular valve prosthesis includes an anchor stent and a valve component. The anchor stent includes a self-expanding tubular frame member configured to be deployed in the aorta and a proximal arm component extending from a proximal end of the tubular frame member and configured to be deployed in the sinuses of the aortic valve. The anchor stent further includes attachment members extending from an internal surface of the tubular frame member. The valve component includes a valve frame configured to be deployed within the tubular frame member of the anchor stent such that the valve frame engages with the attachment members of the tubular frame member and a prosthetic valve coupled to the valve frame.
US Patent 11628061
MEDTRONIC, INC.
Implantable Medical Devices Automatically Switch From Normal Mode To Exposure Mode And Back
What is this invention?
Methods and implantable medical devices for automatic entry to an exposure mode of operation upon exposure to a magnetic disturbance
There's an IMD that can sense,
When it puts a patient at risk.
It'll switch back to normal mode,
To prevent any harm or commode.
This clever device is no jive, It's quite adept and so alive!

Medical technology has come a long way in recent years, and now we are proud to review the latest innovation from MEDTRONIC, INC. – implantable medical devices that automatically switch between normal and exposure modes of operation upon exposure to magnetic disturbances. These devices use hysteresis timers as well as additional considerations such as confirmation counters or moving buffers of sensor values to determine when it is safe for them to enter into an exposure mode and return back into a normal mode after exiting the exposure mode. Additionally, these devices can also take into account factors such as total time in the exposure mode, patient position, and high voltage source charge times for defibrillation capabilities. This groundbreaking technology makes it easier than ever before for doctors and healthcare professionals to ensure their patients’ safety while they undergo any type of medical procedure involving magnetic disturbances. We are excited about this new development from MEDTRONIC, INC., which promises improved patient care with its advanced automatic switching system!
This text describes how implantable medical devices (IMDs) switch between different modes of operation, depending on the conditions. For example, if an IMD detects that it is in an exposure mode where it could potentially harm a patient, it will automatically switch back to the normal mode of operation. The IMD may also use timers to determine when the exposure has ended and whether or not certain criteria have been met.
US Patent 11628298
MEDTRONIC, INC.
Medical Device Uses Confidence Levels to Determine Therapy
What is this invention?
Closed-loop stimulation therapy in event of loss of sensor data
A medical device was quite wise,
It sensed with great accuracy and size.
The confidence levels it found,
For therapy parameters sound,
And then caused delivery of the prize.

MEDTRONIC, INC. has just unveiled their latest invention - a closed-loop stimulation therapy system designed to respond in the event of lost sensor data. This groundbreaking medical device is able to measure the accuracy of data received from multiple sensing sources and then use this information to determine one or more therapy parameters that can be used for delivery of treatment. With this technology, patients will now have access to reliable and accurate treatments even when there are problems with the sensors being used. This new innovation from MEDTRONIC, INC. marks an important step forward in medical care as it gives doctors and healthcare providers greater control over treatments by allowing them to adjust therapies based on real-time data analysis. We are excited about the potential impact that this technology could have on improving patient outcomes and look forward to seeing how it will be implemented in clinical settings around the world!
The medical device may receive sensor data from sensing sources, and determine confidence levels for sensor data received from each of the plurality of sensing sources. Each of the confidence levels of the sensor data from each of the sensing sources is a measure of accuracy of the sensor data received from respective sensing sources. The medical device may then determine one or more therapy parameter values based on the determined confidence levels, and cause delivery of therapy based on the determined one or more therapy parameter values.
US Patent 11628302