Most innovative companies for 04/11/2023 (new inventions)
Exciting new inventions from Covidien Lp, The Procter & Gamble Company, Boston Scientific Scimed, Inc. And Cilag Gmbh International
This is a weekly article summarizing a handful of inventions from the most innovative companies in the world. The summaries are created by an A.I. and proof-read by a human before publication. Attempts are made to ensure accuracy of the descriptions, but it is very much a work in progress. Each invention description is preceeded by a poem about the invention that is written by the A.I. I have found the limerick is actually quite good at explaining the invention in simple terms. Enjoy!
COVIDIEN LP
Surgical Stapling System Detects Properly Attached Trocar
What is this invention?
Methods and structure for confirming proper assembly of powered surgical stapling systems
A surgical stapling system was made
To detect if the trocar's been laid
The force and current used,
Amount of time confused
Will tell if it's properly stayed

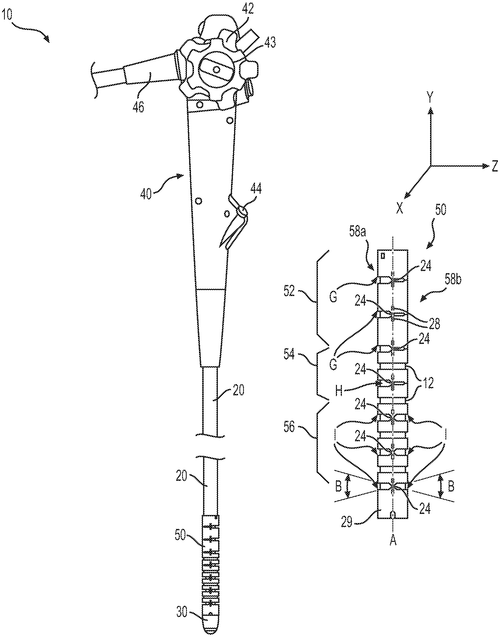
In the medical field, accuracy and precision are of utmost importance. COVIDIEN LP has developed a revolutionary new invention to ensure that powered surgical stapling systems are properly assembled. This system includes an adapter assembly, a trocar assembly attachable to the adapter assembly, a processor, and memory. The instructions stored in the memory enable the processor to cause the trocar assembly to move relative to the adapter assembly in order to determine whether it is properly attached or not based on force applied between them, current detected in the system or time taken for movement without indication of sufficient force being applied. This innovative technology helps reduce errors due to improper assembling of powered surgical stapling systems thereby enhancing patient safety by ensuring that only correctly assembled equipment is used during surgery. It also provides peace of mind for surgeons who can be confident that their tools will work as they should every single time!
This surgical stapling system includes an adapter assembly, a trocar assembly attachable to the adapter assembly, and a processor. The memory includes instructions executable by the processor to cause the trocar assembly to move relative to the adapter assembly and determine whether the trocar assembly is properly attached to the adapter assembly. Such determination is based on an amount of force applied between the trocar assembly and the adapter assembly, an amount of current detected in the surgical stapling system, or an amount of time the trocar assembly moves relative to the adapter assembly without an indication that the amount of force is within a predetermined range.
US Patent 11622768
COVIDIEN LP
Computer Controlled Stapling Instrument Keeps Tissue Clamped Safely
What is this invention?
Systems and methods for suture failure detection during surgical stapling
A computer-controlled surgical stapling
Involves tissue gap, first force measuring
If it's greater than a threshold known
Then a second force is shown
And if the suture fails, advancing stops growing

COVIDIEN LP has just unveiled a revolutionary new technology for surgical stapling: Systems and methods for suture failure detection. This system uses an advanced computer-implemented method to control the surgical stapling instrument, advancing the anvil assembly in relation to a staple cartridge until it reaches a first position defining a tissue gap between the two components. Then, by measuring both the first force of tissue compression at one time point and then again at another time point after determining that the measured first force is greater than a threshold, this system can determine whether or not there has been any suture failure. If so, it will stop advancing the anvil assembly based on its findings. This incredible new invention from COVIDIEN LP makes surgery safer than ever before - ensuring that surgeons have all of the information they need to make informed decisions about their patients’ health during surgery. By using this technology, medical professionals can be sure that no potential issue goes unnoticed during critical procedures - making sure that each patient receives only top-tier care every step of their treatment process.
The computer-implemented method for controlling a surgical stapling instrument includes advancing an anvil assembly in relation to a staple cartridge to a first position defining a tissue gap between the staple cartridge and the anvil assembly, clamping tissue, and measuring a first force of tissue compression of the tissue clamped within the tissue gap with the anvil assembly at a first time point. If it is determined that the measured first force is greater than a threshold, then measuring a second force of tissue compression of the tissue clamped within the tissue gap at a second time point in response to the determination that the first force is greater than the threshold is performed. If it is determined that suture failed based on this measured second force being less than or equal to (the) measured first force, then stopping the advancing of the anvil assembly based on this determination is performed.
US Patent 11622769
COVIDIEN LP
Endoscopic Forceps Features Efficient Cutting Action
What is this invention?
Jaw, blade and gap manufacturing for surgical instruments with small jaws
A forceps with an elongate shaft,
Including two jaw members that craft,
When clamped and cut,
The tissue will shut,
Thanks to the handle's deft draft.

Today, we’re excited to share the news about a revolutionary invention from COVIDIEN LP. Their jaw, blade and gap manufacturing for surgical instruments with small jaws is designed to make surgery easier than ever before. This endoscopic forceps features an elongate shaft defining an instrument axis, first and second jaw members each supporting an opposed sealing surface for clamping tissue, and a cutting instrument including a reciprocating blade that can be translated relative to the sealing surfaces in order to sever tissue clamped between the jaw members. The handle adjacent the proximal end of the elongate shaft is operable to induce motion in the jaw members as well as selectively translate the reciprocating blade - making it easy for surgeons to perform precise cuts during operations. With this innovative new device from COVIDIEN LP, surgeries have never been simpler or more efficient!
The endoscopic forceps includes an elongate shaft defining an instrument axis. The end effector includes first and second jaw members each supporting an opposed sealing surface for clamping tissue. At least one of the jaw members is movable relative to the instrument axis such that the jaw members are movable between a first spaced-apart configuration and a second closed configuration for grasping tissue. A cutting instrument includes a reciprocating blade translatable relative to the sealing surfaces to sever tissue clamped between the jaw members. The reciprocating blade contacts an undersurface of at least one of the jaw members when the jaw members are in the second configuration to define a gap distance between the sealing surfaces. A handle adjacent the proximal end of the elongate shaft is operable to induce motion in the jaw members, and an actuator is operable to selectively translate the reciprocating blade.
US Patent 11622782
COVIDIEN LP
Forceps with Knife Kickout Mechanism Keep Surgeons Safe
What is this invention?
Forceps with linear trigger mechanism
A forceps with two shafts, each one
Containing a jaw that can rotate and run.
It has a knife deploy,
With trigger to enjoy,
Plus lockout and kickout for fun!

We are thrilled to review a new forceps with linear trigger mechanism from COVIDIEN LP. This revolutionary device is designed to make surgical procedures easier and more efficient than ever before. The forceps includes two shafts which each have a jaw at the distal end, allowing them to be moved between open and closed positions. Inside the first shaft is a knife deployment mechanism that can be triggered along the longitudinal axis in order to deploy a knife between the jaws when needed. Additionally, this device features both a knife lockout and kickout mechanisms that allow for greater control over when and where the knife can be deployed. This groundbreaking invention has revolutionized surgical procedures by making them more precise and efficient than ever before - all without compromising safety or accuracy. With its innovative design, this forceps with linear trigger mechanism will no doubt become an essential tool in medical settings everywhere!
The forceps includes first and second shafts each having a jaw disposed at a distal end thereof configured to rotate about a pivot to move the jaws between open and closed positions. The shafts define a longitudinal axis therebetween. A knife deployment mechanism including a rack and pinion mechanism or a series of links is disposed within the first shaft and includes a trigger moveable along the longitudinal axis to deploy a knife between the jaws. A knife lockout is configured to move upon approximation of the first and second shafts between an engaged position preventing deployment of the knife and an disengaged position allowing deployment of the knife. A knife kickout mechanism is disposed within the first shaft in opposition to the second shaft and is configured to force the knife forward upon movement of the first and second shafts from an approximated position to a more open position.
US Patent 11622804
COVIDIEN LP
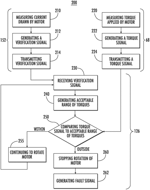
Verifying Torque Measurements with an Instrument Drive Unit - A New Method
What is this invention?
Robotic surgical system torque transduction sensing
A controller for a motor drive unit
Received a verification signal to boot.
It generated an acceptable range of torques,
And compared it with what the motor imposes.
If torque is outside this range, it'll shut!

COVIDIEN LP has developed a revolutionary new robotic surgical system torque transduction sensing. This system allows doctors to monitor and control the amount of torque applied during surgery, ensuring that only the correct amount is used in order to prevent any potential damage or injury. The verification signal is indicative of the current drawn by the motor and the torque signal is indicative of torque applied by the motor, allowing for precise monitoring of every step taken in surgery. Additionally, if an unacceptable range of torques is detected, this system will automatically stop the motor so that further damage can be prevented. This innovative technology from COVIDIEN LP provides surgeons with unprecedented accuracy and safety when it comes to performing delicate surgeries - making sure that their patients are receiving only the best care possible. With its robust design and reliable performance, this robotic surgical system torque transduction sensing promises to revolutionize how surgeries are performed around the world!
This method of verifying torque measurements of a reaction torque transducer of an instrument drive unit includes a controller receiving a verification signal, generating an acceptable range of torques, receiving a torque signal, comparing the torque signal to the acceptable range of torques, and stopping a motor if the torque applied by the motor is outside of the acceptable range of torues. The verification signal is indicative of the current drawn by the motor and the torque signal is indicative of torque applied by the motor.
US Patent 11622824
Covidien LP
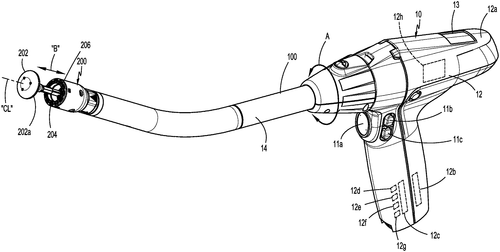
Stapling Device Includes Sealed Trocar Assembly for Improved sterilization
What is this invention?
Sealed trocar assembly for stapling device
A stapling device with a handle,
An adaptor and trocar assembly,
The seal retainer too,
Makes sure it'll stay true.
It's a tool that is quite grandable!

Covidien LP has just released a revolutionary new stapling device. This device features a sealed trocar assembly that ensures the safety and efficiency of your surgical procedures. The trocar assembly includes a housing which defines a lumen, an annular seal with an inner opening, and a trocar which is movable through the lumen as well as through the inner opening of the annular seal. Additionally, there is also a seal retainer operably coupled to both the trocar housing and annular seal for extra security. This advanced sealed trocar assembly provides better control over stapling devices during surgery than ever before - helping surgeons get their job done quickly and effectively without compromising patient safety or quality of care. With this new technology from Covidien LP, surgeries can now be performed with even greater precision than ever before!
The stapling device includes a handle assembly and an adaptor assembly extending from the handle assembly. The handle assembly includes a housing and an adaptor that extends from the housing. The adaptor includes a sealed trocar assembly. The trocar assembly includes a trocar housing defining a lumen, an annular seal having an inner annular surface defining an inner opening, and a trocar disposed within the lumen of the trocar housing, through the inner opening of the annular seal, and movable through the lumen of the trocar and the inner opening of the annular seal. The seal retainer is operably coupled to the trocar housing and the annular seal. The Trocar includes an elongate body portion having a distal end and a trocar member extending distally from the distal end of the elongate body portion.
US Patent 11622767
Covidien LP
New Tissue Resecting Instrument Provides Precise and Efficient Surgery
What is this invention?
Fluid-driven tissue resecting instruments, systems, and methods
There was a resecting instrument,
It had a housing and a vent;
A turbine to rotate,
And cut through the plate,
With suction for fluid and tissue sent.

Covidien LP has just released their new Fluid-driven tissue resecting instruments, systems and methods. This revolutionary device is designed to help medical professionals quickly and safely perform tissue resection procedures with ease. The instrument includes a housing, a shaft rotatable relative to the housing and defining a proximal end portion disposed within the housing and a distal end portion distally-spaced from the housing, as well as a cutting member operably associated with the distal end portion of the shaft. Inside of this device lies an innovative turbine that is configured such that when fluid passes across its fins it will rotate – thus rotating the shaft relative to the housing in order for tissue resection to take place. This system also comes equipped with a fluid outflow tube which can be connected to suction sources so that any fluids or tissues removed during these procedures can be easily suctioned away from both inside of the lumen of the shaft as well as inside of its interior housing. With this incredible technology on your side you’ll be able to perform quick and efficient tissue resections without worrying about having too much mess afterwards!
The text describes a tissue resecting instrument that includes a housing, a shaft rotatable relative to the housing and defining a proximal end portion disposed within the housing and a distal end portion distally-spaced from the housing, a cutting member operably associated with the distal end portion of the shaft, a turbine disposed within the housing and operably associated with the proximal end portion of the shaft, and a fluid outflow tube operably associated with the housing. The fluid outflow tube is adapted to connect to a suction source to enable the suctioning of fluid and resected tissue proximally through a lumen of the shaft, an interior of the housing, and into the fluid outflow tube. The turbine is configured such that proximal fluid flow across the plurality of fins of the turbine urges the turbine to rotate, thereby rotating
US Patent 11622787
Covidien LP
Surgical Instrument Configured to Cut Tissue Includes Zero-Angular Velocity Inner Member
What is this invention?
Surgical systems and methods for controlling an angular position trajectory for tissue shavers and other rotating surgical instruments
A surgical instrument was made
With an outer and inner blade
The driving assembly would spin 'round
To cut tissue that's found
And its angular velocity stayed.

Covidien LP has developed a revolutionary surgical system that allows for precise control over the angular position trajectory of tissue shavers and other rotating surgical instruments. This system is designed to provide surgeons with greater accuracy and precision when cutting into tissue, allowing them to make more accurate incisions without damaging surrounding healthy tissue. The controller within the device is able to precisely control the angular position, velocity, or acceleration of the inner member according to a set of predetermined piecewise continuous profiles. With this technology, surgeons can now make sure their cuts are as precise as possible while maintaining zero initial and final angular velocities - ensuring minimal damage to healthy tissues in the process.
The surgical instrument includes an outer member and an inner member at least partially received within the outer member. The outer member includes a cutting window near a distal end thereof. A driving assembly is coupled to the inner member and configured to cause the inner member to rotate around and move along a longitudinal axis of the outer member. A controller is configured to control the driving assembly to control at least one of an angular position, an angular velocity, or an angular acceleration of the inner member according a plurality of piecewise continuous profiles. The initial and final angular velocities of the inner member are zero, and the innermember cuts tissue extending into the cutting window.
US Patent 11622789
Covidien LP
New Obturator Invention Makesassembly Quick and Easy
What is this invention?
Obturators for surgical access assemblies and methods of assembly thereof
An obturator is quite a device,
It has an elongate part and a piercing tip.
You must select the body with care,
Then place some heat shrink tubing there,
And you'll have it assembled in just one quick trip!

Covidien LP has developed a revolutionary new obturator for surgical access assemblies. This unitary body includes an elongate portion, a handle portion, and a piercing tip - all designed to make accessing difficult areas during surgery easier than ever before. The device also features heat shrink tubing that is placed around the handle portion of the obturator body in order to provide additional stability and comfort when using this tool. The method of assembly for this product is simple yet effective - select an obturator body with a unified structure, place heat shrink tubing on the handle portion of the obturator, then heat it up until it shrinks tightly around the handle section before trimming it off. This process ensures that your Obturators are secure and ready for use whenever you need them! This new Obturator technology from Covidien LP provides surgeons with an easy-to-use solution that can help make complicated surgeries simpler than ever before. With its lightweight design, precision accuracy, and efficient assembly process, this Obturator will revolutionize how we perform surgical procedures going forward!
An obturator is a medical device that includes an elongate portion, a handle portion formed on a proximal portion of the elongate portion, and a piercing tip formed on a distal portion of the elongate portion. The obturator further includes a section of heat shrink tubing received about the handle portion of the unitary body. A method of assembling an obturator includes selecting an obturator body having a unitary structure and having a handle portion, placing a section of heat shrink tubing about the handle portion of the obturator body, heating the section of heat shrink tubing to shrink the tubing about the handleportion, and trimming the section of heat shrink tubing.
US Patent 11622790
Covidien LP
3D Modeling Reveals Location of Anatomical Feature in Patient's Chest
What is this invention?
Systems and methods for providing proximity awareness to pleural boundaries, vascular structures, and other critical intra-thoracic structures during electromagnetic navigation bronchoscopy
A patient's chest was in need of care,
So a tool with an EM sensor they'd pair.
It tracked its position and mapped the 3D chest,
To determine the proximity to best.
The systems disclosed were quite aware,
Of anatomical features most fair!

Covidien LP has developed a revolutionary new system for providing proximity awareness to pleural boundaries, vascular structures, and other critical intra-thoracic structures during electromagnetic navigation bronchoscopy. This system uses image data of the patient's chest along with a three-dimensional (3D) model of the patient's chest to determine the location of anatomical features such as pleural boundaries and vascular structures. It then tracks the position of an electromagnetic sensor included in a tool that is used inside the patient's chest and iteratively determines its position relative to these anatomical features. Finally, it indicates a proximity of the tool relative to these features based on this determined position. This innovative system provides doctors with greater accuracy when navigating through patients' chests during procedures like bronchoscopy which can help them perform more successful treatments while reducing risks associated with invasive procedures. We are excited about this development from Covidien LP and look forward to seeing how it will be utilized in medical settings around the world!
The disclosed systems, devices and methods provide proximity awareness to an anatomical feature while navigating inside a patient's chest. The received image data is used to generate a three-dimensional (3D) model of the patient's chest. The location of the anatomical feature is determined based on the received image data and the generated 3D model. The position of the electromagnetic sensor included in the tool is tracked iteratively. Based on the tracked position of the electromagnetic sensor, a proximity of the tool relative to the anatomical feature is indicated.
US Patent 11622815
The Procter & Gamble Company
Keep your floors clean with a waxed nonwoven sheet!
What is this invention?
Cleaning sheets having coating thereon
There was a sheet made of nonwoven stuff
One side waxed, the other with oil and fluff
The wax kept it sealed tight
To keep out dust in flight
For cleaning surfaces or to just do enough

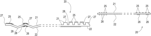
Keeping your home or office clean is a never-ending task. But now, thanks to The Procter & Gamble Company’s invention of Cleaning Sheets having Coating Thereon, you can make cleaning much easier and more efficient! This revolutionary product features wax on one side and oil on the other - but don't worry, the two substances are arranged in such a way that they won't mix together. This arrangement keeps the oil from contacting surfaces directly while still allowing it to collect debris effectively. Plus, the first surface may be textured with peaks and valleys so that even more wax is present where needed most. Whether used as a dry sheet for floors or as an all-purpose duster, this innovative new product will help you keep your space spotless without any extra hassle!
The text describes a sheet of nonwoven material with two surfaces, one covered in wax and the other covered in oil. The wax prevents the oil from permeating through to the surface and leaving residue. The peaks and valleys on the textured surface help collect debris. This sheet can be used for cleaning surfaces or as a duster.
US Patent 11622663
The Procter & Gamble Company
Novel Fibrous Surfaces - Contact Surface and Methods
What is this invention?
Fibrous structures having a contact surface
A fibrous structure was devised,
To increase contact when applied to the skin.
The micro protrusion's advice,
Will help topical treatments suffice,
And efficacy will be seen again and again!

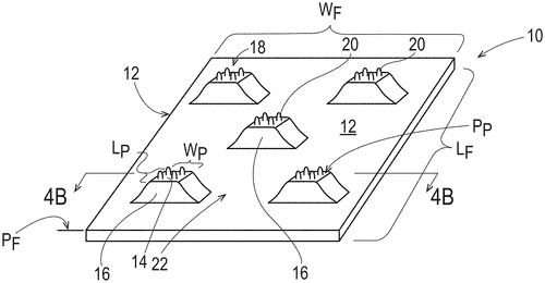
The Procter & Gamble Company has just unveiled a revolutionary new invention – fibrous structures with a contact surface. This novel contact surface, known as the micro protrusion surface, is designed to provide maximum comfort and convenience when using pre-moistened fibrous structures. The micro protrusions act as tiny cushions that help reduce friction and improve overall user experience. In addition, these unique fibers are also highly durable and can withstand repeated use without wearing down or becoming damaged in any way. This breakthrough technology from Procter & Gamble will revolutionize the way people use pre-moistened fibrous structures for everyday tasks such as cleaning or wiping surfaces. With its superior comfort, durability, and ease of use, this innovative product is sure to make life easier for everyone who uses it!
The invention provides fibrous structures, such as pre-moistened fibrous structures, having a novel contact surface (micro protrusion surface). The micro protrusion surface allows for increased contact between the fibrous structure and skin or other surfaces. This can lead to improved absorption of topical treatments and/or increased efficacy of topical treatments. In addition, making the fibrous structures and using the fibrous structures are also described.
US Patent 11622664
The Procter & Gamble Company
Wearable article with high compression work index and low stretch circumference force
What is this invention?
Absorbent article having elastic belt
A wearable article was found,
Its Compression Work index around seventy pound.
Stretch Circumference Force less than six and a half,
Inner sheet made of nonwoven fiber and outer too,
Elastic bodies to stretch it in the transverse direction - what a delight!

Introducing the revolutionary new Absorbent Article with Elastic Belt from The Procter & Gamble Company! This wearable article is designed to be continuous in both the longitudinal and transverse directions, creating a comfortable fit for all body types. The elastic belt region of this article is made of a laminate consisting of an inner sheet made of nonwoven fiber and an outer sheet made of nonwoven fiber, along with a plurality of elastic bodies that stretch it in the transverse direction. With its Compression Work index at least about 70 gfcm and Stretch Circumference Force at less than 6.5N according to measurements herein, you can rest assured knowing that your clothing will stay secure throughout any activity - making it perfect for people on-the-go or those who just want extra comfort and security when wearing their clothes. So if you're looking for something reliable yet stylish, look no further than The Procter & Gamble Company's Absorbent Article with Elastic Belt!
The article disclosed herein is a wearable article that has a Compression Work index of at least about 70 gfcm and a Stretch Circumference Force of less than about 6.5N according to the measurements herein. The elastic belt region is made of an inner sheet made of nonwoven fiber and an outer sheet made of nonwoven fiber, and a plurality of elastic bodies are configured to stretch the elastic belt region in the transverse direction. This wearable article has many benefits, including improved compression work and circumference force.
US Patent 11622894
The Procter & Gamble Company
Zinc Lactate, Glycine, and Fluoride Ion Dentifrice Keeps Plaque at Bay
What is this invention?
Dentifrice compositions for treatment of dental biofilm
A dentifrice composition of fame,
Including zinc lactate, glycine and fluoride ion.
To treat dental plaque biofilm was its aim,
And it worked with great aplomb!
It's the perfect solution to keep your teeth clean and tame.

Do you have trouble with dental plaque buildup? The Procter & Gamble Company has the perfect solution for you! Introducing Dentifrice compositions - a revolutionary new product designed to help treat and prevent dental biofilm. This unique formula combines zinc lactate, glycine, and fluoride ion to provide superior protection against plaque build-up. Not only does this formulation effectively reduce biofilm on your teeth, but it also helps keep them healthy and strong in the long run. With Dentifrice compositions from The Procter & Gamble Company, you can be sure that your smile will stay bright and beautiful for years to come. Give it a try today!
This text provides information on a dentifrice composition that includes zinc lactate, glycine, and fluoride ion. The composition is designed to treat dental plaque biofilm.
US Patent 11622925
The Procter & Gamble Company
Oral Care Composition Promotes Gum Health with Neutral Amino Acid and Stannous Ion Source
What is this invention?
Oral care compositions for promoting gum health
There was a neutral amino acid,
In oral care compositions it played.
With stannous ion source to boot,
It helped keep gums in good root,
For healthy teeth and gums we prayed!

Oral health is an important part of overall wellbeing, and The Procter & Gamble Company has just released a revolutionary new way to keep your gums healthy. Their Oral Care Composition with Neutral Amino Acid and Stannous Ion Source helps promote gum health in users. This composition contains two key ingredients that work together to strengthen the enamel on teeth and reduce inflammation in the gums. In addition, this product also helps protect against plaque buildup and other oral diseases that can lead to more serious issues down the line. By using this innovative new product from The Procter & Gamble Company, you can be sure that your gums are getting all of the care they need for optimal oral health. So don't wait any longer - start taking advantage of this fantastic new product today!
The oral care compositions described herein comprise a neutral amino acid and stannous ion source, which are believed to promote gum health. The compositions can be used as part of a regimen to help maintain healthy gums and teeth.
US Patent 11622926
Boston Scientific Scimed, Inc.
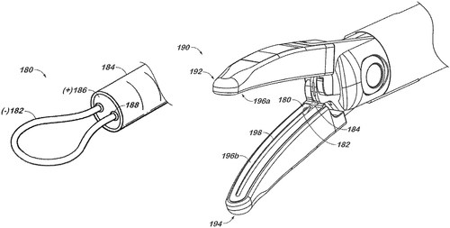
Apparatuses to Attach First Medical Device to Second Medical Device: Easy, Quick, and Secure
What is this invention?
Attachment clamp
A physician's life sure can be hectic,
In need of tools that are quick to detach it.
Various apparatuses do the trick,
One hand all you'll need to stick;
So they remain securely attached and not erratic!

Medical professionals are always looking for ways to make their work easier and more efficient, and Boston Scientific Scimed, Inc. has come up with a great solution. They have developed an attachment clamp that allows physicians to securely attach one medical device to another while still being able to grasp only the single device they need. This is made possible by an easily detachable base that can be quickly attached and detached from the second medical device without needing to completely remove it from the first medical device. Not only does this save time in busy operating rooms, but it also reduces strain on healthcare workers’ hands as they no longer need two hands for each task - making their jobs much simpler and less tiring! With this new invention from Boston Scientific Scimed, Inc., healthcare workers everywhere will be able to perform their duties more efficiently than ever before!
Various apparatuses are described that allow a physician to grasp only one device while the other remains securely attached. The apparatuses are designed to be easily and quickly attached and detached from a second medical device, normally requiring the use of one hand. Furthermore, the apparatuses often include a base that can easily couple and decouple from the portion that is attached to the second medical device so that if the need arises to separately use the second medical device, it can be decoupled from the first medical device without completely removing the apparatus from the second medical device.
US Patent 11622670
Boston Scientific Scimed, Inc.
New articulation joint reduces gaps between links
What is this invention?
Medical device having asymmetric bending
A joint with a straight configuration
Connects two pieces of bone relation.
It bends to one side, then the other,
With gaps that allow movement like no other.
The articulation joint's quite an invention!

Boston Scientific Scimed, Inc. is proud to review a new medical device with an innovative asymmetric bending feature. This articulation joint has been designed so that it can bend towards either side of its longitudinal axis, allowing for greater flexibility and maneuverability in medical applications. It also features gaps between the proximal links on one side and contact points between them on the other side, as well as similar features for the distal links and intermediate links. With this design, users are able to achieve greater precision when performing delicate procedures or maneuvering within tight spaces. We believe this breakthrough technology will revolutionize how medical professionals approach their work – providing increased safety and accuracy while minimizing time spent in surgery or treatment rooms.
This article discusses the articulation joint, which is a type of joint that connects two pieces of bone. The articulation joint has a straight configuration along a straight longitudinal axis, a first bent configuration when it bends toward one side of the axis, and a second bent configuration when it bends toward the other side. There are gaps defined between adjacent proximal links, gaps between adjacent distal links, and gaps between adjacent intermediate links in this configuration. When the articulation joint is in the straight configuration, these gaps allow for easy movement between the proximal and distal links as well as between the intermediate and distal links.
US Patent 11622675
Boston Scientific Scimed, Inc.
Photoacoustic Catheter Can Induce Fractures with Acoustic Pressure Waves
What is this invention?
Photoacoustic pressure wave generation for intravascular calcification disruption
There was a device that could crack
A calcified lesion with its whack
It had an elongate shaft
With a photoacoustic craft
So the fracture would be on track

We are excited to review the invention of a revolutionary new photoacoustic catheter from Boston Scientific Scimed, Inc. This device is designed to impart acoustic pressure waves upon calcified lesions in order to induce fractures. The catheter includes an elongate shaft with a first light guide and a first photoacoustic transducer that is optically connected with the light guide. This transducer contains both a light-absorbing material and thermal expansion material which work together to generate powerful acoustic pressure waves capable of disrupting even the most stubborn calcified lesions. This groundbreaking technology promises to revolutionize medical treatments for those suffering from intravascular calcification, making it easier than ever before for doctors and surgeons to treat these conditions without invasive procedures or surgery. We can’t wait to see what further applications this incredible invention will bring!
This text describes a photoacoustic catheter that can be used to induce fractures in a calcified lesion. The photoacoustic catheter includes an elongate shaft and a first photoacoustic transducer disposed within the distal region of the shaft. The first photoacoustic transducer imparts acoustic pressure waves upon the lesion, which can cause it to fracture. The photoacoustic catheter also includes a light-absorbing material and a thermal expansion material that are in contact with each other.
US Patent 11622779
Boston Scientific Scimed, Inc.
Rapid, Selective Electroporation with System Controller Configured to Apply Voltages Independently to Subsets of Electrodes
What is this invention?
Method and apparatus for rapid and selective tissue ablation with cooling
A system of tools and methods,
For irreversible electroporation,
DC voltage applied just right,
To keep temperature in sight,
And a clamp device to modulate the sensation.

Boston Scientific Scimed, Inc. has just unveiled a revolutionary new method and apparatus for rapid and selective tissue ablation with cooling. This system allows you to apply DC voltage to independently selected subsets of electrodes while maintaining the temperature near the electrode head within a desired range of values. By utilizing cooling fluid or solid state thermoelectric heat pumps, this system is capable of modulating temperature to elevate irreversible electroporation thresholds - making it an ideal tool for medical professionals in need of precise tissue ablation procedures. With its ability to rapidly and selectively target tissue without damaging surrounding areas, Boston Scientific Scimed's technology will revolutionize the way we approach medical treatments today!
Systems, tools and methods are disclosed for the selective and rapid application of DC voltage to drive irreversible electroporation. The system controller is capable of being configured to apply voltages to independently selected subsets of electrodes, and is also capable of generating at least one control signal to maintain the temperature near an electrode head within a desired range of values. Electrode clamp devices are also disclosed for generating electric fields to drive irreversible electroporation while modulating temperature to elevate the irreversible electroporation threshold.
US Patent 11622803
Boston Scientific Scimed, Inc.
New Heart Valve Implant Includes Anchor Member That Acts as a Tubular Bridge
What is this invention?
Replacement heart valve implant with inflow stitching
A tubular anchor member with aplomb
Was actuatable between two states, one and some
It had an inflow end, outflow too
And leaflets that were everted through and through.
The seal was secured to the anchor at the start,
Ensuring this replacement heart valve's part!

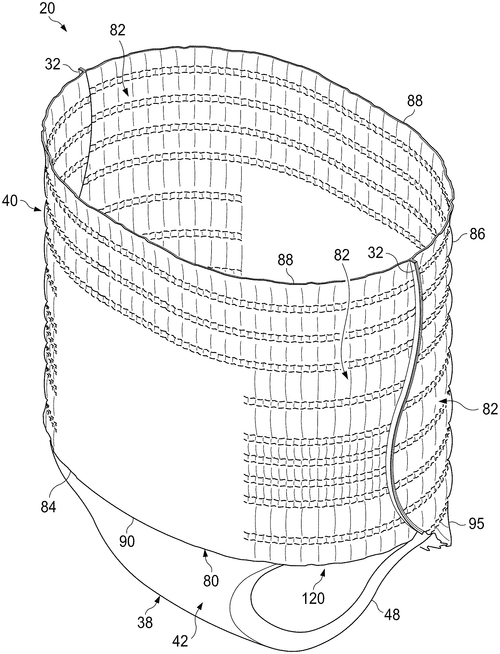
Today we are excited to review a revolutionary new heart valve implant from Boston Scientific Scimed, Inc. - the Replacement Heart Valve Implant with Inflow Stitching! This implant is designed to provide an effective and efficient replacement for damaged or diseased heart valves. The implant utilizes a tubular anchor member that can be moved between delivery and deployed configurations, as well as a seal member secured at the inflow end of the anchor member. Each of the valve leaflets has a secured end attached to this seal member and an end surface facing towards the outflow end when in its everted position. Additionally, each leaflet also has free ends which allows it to move freely during deployment. This innovative design ensures that your heart valve will be secure while still allowing for maximum flexibility during movement and operation. With this new technology from Boston Scientific Scimed, Inc., you can trust that your replacement heart valve implant will function effectively for years to come!
The replacement heart valve implant may include a tubular anchor member actuatable between a delivery and a deployed configuration, the tubular anchor member including an inflow end, an outflow end, and a plurality of anchor member intersection points, and defining a longitudinal axis extending from the inflow end to the outflow end, a plurality of valve leaflets, and a seal member secured to the tubular anchor member at the inflow end. An end surface of each of the plurality of valve leaflets may abut an inner-facing surface of the seal member. The plurality of valve leaflets each define a secured end and a free end. The secured end may be attached to the seal member adjacent the inflow end. The secured ends may define respective ends surfaces that face toward one another when in an everted position.
US Patent 11622852
Cilag GmbH International
Surgical Instrument with Fastener Cartridge, Anvil, and Firing Drive
What is this invention?
Stapling assembly comprising a shiftable drive
A surgical instrument made of parts,
With a handle and shaft to start the charts.
The fastener cartridge with anvil for sure,
And closure and firing drive that'll endure.
The transmission will switch from one configuration to another;
For this complex device there's no need for any bother!

Cilag GmbH International has developed a revolutionary new stapling assembly that could revolutionize the field of surgical instruments. The assembly features a handle, motor, and shaft with a longitudinal axis from which extends a fastener cartridge containing multiple fasteners. An anvil is included to deform the fasteners, as well as two drives: one for closure and one for firing. What makes this system so unique is its transmission – it can be shifted between two operating configurations to connect either the motor to the closure drive or the firing drive. This allows surgeons to quickly switch between deploying or closing fasteners without having to change any components in their instrument. With such flexibility and ease-of-use, Cilag GmbH's Stapling Assembly looks set to become an essential part of any surgeon’s toolkit!
The surgical instrument can comprise a handle, a motor, and a shaft extending from the handle. The handle and/or the shaft can define a longitudinal axis. The surgical instrument can further comprise a fastener cartridge comprising a plurality of fasteners removably stored therein, an anvil configured to deform the fasteners, a closure drive configured to move the anvil toward and away from the fastener cartridge which is rotatable about the longitudinal axis, and a firing drive configured to deploy the fasteners from the fastener cartridge which is rotatable about the longitudinal axis. The surgical instrument can further comprise a transmission comprising first operating configuration which connects the motor to closure drive and second operating configuration which connects motor to firing drive.
US Patent 11622763
Cilag GmbH International
Surgical Device Ejects Clips for Better Tissue Clipping
What is this invention?
Empty clip cartridge lockout
A surgical device to clip tissue,
Had a replaceable cartridge with clips in it.
With a firing drive and blocking member too,
The crimping drive was all that was left to do.
Once the clips were all used up, no more would you miss 'em!

Cilag GmbH International has just released their latest innovation in surgical clip technology: the Empty Clip Cartridge Lockout. This revolutionary device is designed to make surgery easier and faster than ever before. With its replaceable cartridge stack of clips, firing drive, and crimping drive, you can easily deploy the clips from the cartridge and deform them after they have been ejected. Plus, thanks to its blocking member feature, you never have to worry about running out of clips during a procedure - it will automatically impede or block any further action once all of the clips from the cartridge have been used up! This cutting-edge device is sure to revolutionize medical procedures everywhere - making surgeries safer and more efficient for everyone involved.
A surgical device for clipping tissue can include a replaceable cartridge comprising a stack of clips contained therein and a firing drive configured to reciprocatingly eject, or deploy, the clips from the cartridge. After the clips have been deployed from the cartridge, a blocking member can be positioned to impede or block the firing drive. The cartridge can also include a biasing member configured to bias the blocking member into a firing chamber defined in the cartridge and/or surgical device. The surgical device can also include a crimping drive configured to deform a clip after it has been ejected from the cartridge. The blocking member can also be configured to impede or block the crimping drive after all of the clips from the cartridge have been used.
US Patent 11622766
Cilag GmbH International
A Staple Cartridge with Customizable Quantity of Staples Ejected
What is this invention?
Surgical staples having attached drivers and stapling instruments for deploying the same
A staple cartridge was quite a sight,
With drivers of different might;
For the first ejected one,
The second two were done,
And third driver got it just right!

Surgeons and medical professionals everywhere can now benefit from a revolutionary surgical staple cartridge invented by Cilag GmbH International. This unique device features three different staple drivers, allowing for the deployment of staples in three distinct quantities. The cartridge body contains an inner longitudinal row of staple cavities, a middle longitudinal row of staple cavities, and an outer longitudinal row of staple cavities on one side of the knife slot - all designed to store removably stored staples. The first driver is configured to eject a first quantity of staples from the cavity while the second driver is configured to eject a different second quantity and third driver is configured to eject the same amount as that ejected by the first driver. This remarkable invention has made it easier than ever before for surgeons and medical professionals alike to deploy surgical staples with greater accuracy and precision than ever before. With this new device, surgeries can be completed faster and more efficiently - making it easier than ever before for doctors to provide quality care without compromising patient safety or comfort levels.
A staple cartridge comprising a cartridge body, staples, first and second staple drivers, and third staple driver is disclosed. The cartridge body comprises a knife slot and staple cavities defined in the cartridge body and arranged in an inner longitudinal row of staple cavities, a middle longitudinal row of staple cavities, and an outer longitudinal row of staple cavities on one side of the knife slot. The staples are removably stored within the staple cavities. The first driver ejects a first quantity of staples from the staple cavities. The second driver ejects a second quantity of staples which is different than the first quantity of staples. The third driver ejects a third quantity of staples that is the same as the first quantity of staples. This allows for greater precision when stapling materials together because each driver can be configured to eject different quantities of staples.
US Patent 11622785
Cilag GmbH International
Robotic Surgery Gets a Boost with New Control Assembly
What is this invention?
User input device for robotic surgical system
A robotic surgical system was made,
It had a robotic actuation grade.
A processing device too,
Instructions for it to do,
And a user input device in the brigade.

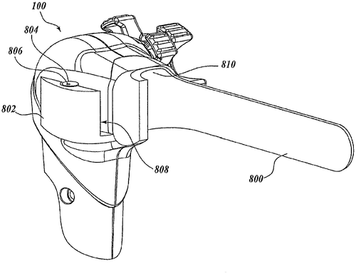
Robotic surgery is a rapidly growing field, and Cilag GmbH International has recently unveiled an innovative user input device for robotic surgical systems that promises to revolutionize the industry. This revolutionary new system allows surgeons to control the robotic arm of a surgical robot by simply positioning a user input device in three-dimensional space. By using this intuitive and easy-to-use interface, surgeons can quickly and accurately instruct the robot to perform complex tasks with precision accuracy. The user input device also connects directly to the control assembly of the robotic surgical system, allowing instructions to be transferred quickly and reliably between components. This exciting innovation from Cilag GmbH International makes it easier than ever before for surgeons to operate robots during delicate operations, ensuring faster recovery times for patients while maintaining maximum safety and accuracy standards. We look forward to seeing what else this amazing technology will bring us in the future!
A robotic surgical system includes a robotic surgical assembly and a control assembly. The robotic surgical assembly includes a robotic actuation assembly, a processing device, and a first communication device. The robotic actuation assembly includes a robotic arm. The processing device is configured to instruct the robotic actuation assembly to perform a task based on a set of instructions. The first communication device is operable to transfer the set of instructions to the processing device. The control assembly includes a second communication device and a user input device. The second communication device is operable to communicate the set of instructions to the first communication device. The user input device assembly is configured to generate the set of instructions and send the set of instruction to the second communication devices
US Patent 11622823
Cilag GmbH International
New Tool Assembly Allows for Rotary or Linear Outputs
What is this invention?
Robotic endocutter drivetrain with bailout and manual opening
A tool assembly of various forms,
Has rotary and linear input norms.
Clamping, firing, articulating too,
Rolling around with a view.
This assembly's use can't be outdone!

The future of surgery is here! Cilag GmbH International has just released their revolutionary robotic endocutter drivetrain with bailout and manual opening. This amazing tool assembly has a rotary input coupling and at least one linear input coupling, allowing either a rotary or linear output to activate various mechanisms within the tool assembly. These include clamping assemblies to open and close jaws of an end effector, firing assemblies that can translate knife assemblies through the end effector to fire staples and cut tissue, articulation assemblies that articulate the end effector, and roll assemblies that rotate elongate shafts or the end effector itself. This advanced technology makes surgical procedures more precise than ever before - giving surgeons greater control over how they perform operations on patients. Not only does this system provide accuracy during surgeries, but it also offers safety features such as bailout systems for emergency situations. With its innovative design, this robotic drivetrain is sure to revolutionize medical care in years to come!
Various embodiments of tool assemblies are provided that include at least one rotary input coupling and at least one linear input coupling for allowing either a rotary output or a linear output (e.g., from a tool driver on a surgical robot) to activate at least one mechanism of the tool assembly. For example, mechanisms of the tool assembly can include a clamping assembly, a firing assembly, an articulation assembly, and a roll assembly. The clamping assembly can open and close jaws of an end effector, the firing assembly can translate a knife assembly through the end effector to fire staples and cut tissue, the articulation assembly can articulate the end effector, and the roll assembly can rotate the elongate shaft and/or the end effector.
US Patent 11622825