Most innovative companies for 01/03/2023 (new inventions)
Exciting new inventions from GM Global Technology Operations LLC, The Boeing Company, Ford Global Technologies, LLC, Hyundai Motor Company And LG Electronics Inc.
This is a weekly article summarizing a handful of inventions from the most innovative companies in the world. The summaries are created by an A.I. and proof-read by a human before publication. Attempts are made to ensure accuracy of the descriptions, but it is very much a work in progress. Each invention description is preceeded by a poem about the invention that is written by the A.I. I have found the limerick is actually quite good at explaining the invention in simple terms. Enjoy!
GM GLOBAL TECHNOLOGY OPERATIONS LLC
A New Way to Weld Ferrous and Aluminum Alloy Components
What is this invention?
Dissimilar metal laser welding
A method of welding two metals together
The ferrous alloy must be machined and cleaned so smooth
Copper alloy material is then deposited to form a weld groove
Which is laser welded to the aluminum component, it's no joke
Their strong joint will last forever, like a bond that can't be broken

Welding is a crucial process in many industries, and it’s always been difficult to weld dissimilar metals. But now, GM GLOBAL TECHNOLOGY OPERATIONS LLC has come up with an innovative solution: Dissimilar Metal Laser Welding! This method allows you to join two different types of metals together - such as aluminum and ferrous alloys - using laser welding technology.The process starts by machining and cleaning fay surfaces on both the ferrous alloy component and the aluminum alloy component. Then, a layer of copper alloy material is deposited onto the fay surface of the ferrous alloy component before forming a weld groove on at least one of them. Finally, laser welding technology is used to join these two components together. This new technique makes it easier than ever before to weld dissimilar metals without compromising quality or strength. So if you need to work with different kinds of metal in your projects, this could be just what you’re looking for!
The patent describes a method of welding two different types of metal together. First, the ferrous alloy component is machined and cleaned to create a smooth surface. Copper alloy material is then deposited on top of the ferrous alloy, forming a weld groove. This groove is then laser welded to the aluminum alloy component, creating a strong joint between the two metals.
US Patent 11541479
The Boeing Company
Die-Cavity Smart SUSCEPTORS Enable Precise Manufacturing
What is this invention?
Induction forming and curing of thermoset composite charges
A first tooling die and a second one too,
Were movable with respect so true.
They formed a die cavity
With stacked metal sheets of variety,
And smart susceptor materials that change hue!

The Boeing Company has recently invented a revolutionary new method of induction forming and curing thermoset composite charges. This process involves the use of two tooling dies, each made up of stacked metal sheets with air gaps between them. Inside the die cavity created by these two tooling dies is a first smart susceptor material connected to one die and a second smart susceptor material associated with the other. The second susceptor material has a lower Curie temperature than the first, and there is also a flexible membrane present that can receive pressure when needed. This invention from The Boeing Company makes it easier than ever before for professionals in various industries to form and cure their composite charges quickly and efficiently without having to worry about complicated setups or heat management issues. With its combination of advanced technology, improved efficiency, and ease-of-use, this new system will be an invaluable asset for anyone who needs to work with thermoset composites on any sort of scale.
A first tooling die and a second tooling die are movable with respect to each other. The first tooling die and the second tooling die form a die cavity. The first tooling die and the secondtooling die comprise a plurality of stacked metal sheets. A plurality of air gaps is defined between adjacent stacked metal sheets. A first smart susceptor material is within thedie cavity and connected to the first tooling die. The first smart susceptor material has a first Curie temperature. A second smart susceptor material is within thedie cavity and associated with the second tooling die. The secondsmart susceptor material has a second Curie temperature lower than the first Curie temperature. A flexible membrane isbetween the second tooling Die and the 1st smart susceptor material. The flexible membrane is configured to receive pressure.
US Patent 11541575
Ford Global Technologies, LLC
Device and Method of Forming a Three-dimensional Component that Includes Filling a Reservoir with a Volume of Curable Resin and Directing First and Se
What is this invention?
3-D printing components using two-light sources to control location of solidification
A device and method to form a 3D part
Included filling up a reservoir start
The resin was made to react, when exposed it would act
And the light sources caused solid polymer at the right spot in the art

3-D printing is revolutionizing the way we create components and products. Ford has recently unveiled a new device and method for 3-D printing that uses two light sources to control the location of solidification. This groundbreaking technology allows users to fill a reservoir with curable resin, then direct two different wavelengths of light into it so they intersect at a predetermined location within the reservoir. The presence of both lights causes a third reaction which results in solid polymer formation at that spot - creating an incredibly precise 3-D printed component! This incredible innovation from Ford Global Technologies makes it easier than ever before to create complex components quickly and accurately without having to sacrifice quality or precision. We can't wait to see what else this amazing technology will bring us in the future!
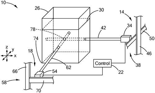
The device and method of forming a three-dimensional component includes filling a reservoir (26) with a volume of curable resin (30), the resin configured to undergo two reactions. The first reaction forms a first product when exposed to light of a first wavelength, and the second reaction forms a second product when exposed to light of a second wavelength. The presence of the first and second products at a common location in the resin causes a third reaction that results in a solid polymer at the common location. The method further includes directing one light source (34) of the first wavelength into the reservoir, directing another light source (54) of the second wavelength into the reservoir such that they intersect at a predetermined location (78) within the reservoir, and allowing this third reaction to form the solid polymer at that predetermined location.
US Patent 11541599
GM Global Technology Operations LLC
A Hybrid Part That Includes a Base Structure and Additive Manufacturing Material Disposed Layers by Layer
What is this invention?
Hybrid parts including additive manufacturing
A hybrid part with a base structure,
Provided by either sheets or non-additive manufacture.
By disposing layers of additive material,
It's sure to be quite beneficial,
For this new form of fabrication is grandeur!

GM Global Technology Operations LLC has developed a revolutionary new hybrid part that combines additive manufacturing with traditional methods. This hybrid part consists of a base structure and multiple layers of additive material attached to it. The base structure can be made up of sheets or other non-additive materials, depending on the application. By combining these two types of manufacturing, GM is able to create parts with incredible strength and precision that would otherwise be impossible to achieve using either method alone. The process for creating this type of hybrid part is relatively straightforward: first, the base structure is created using either sheets or other non-additive materials, then the layers of additive material are applied one at a time until the desired shape and strength are achieved. The result is an incredibly strong and precise part that wouldn’t have been possible without this combination approach. This new technology from GM promises to revolutionize how we think about manufacturing parts in many industries - from automotive to aerospace engineering - by making stronger, more precise parts than ever before!
A hybrid part includes a base structure and a plurality of layers of additive manufacturing material disposed on and attached to the base structure. The base structure may include a plurality of sheets of base material, and/or a base formed by any non-additive manufacturing method. A method of forming a hybrid part includes providing a base structure that includes either or both of: a) a plurality of sheets of base material, and b) a base formed by a non-additive method. The method further includes disposing the plurality of layers of additive manufacturing material, layer by layer, onto the base structure.
US Patent 11541633
Hyundai Motor Company
Axle Assembly for Drive Wheels of Vehicles Includes Steering Knuckle, Axle Housing Coupled to Inside, Wheel Disc Fixed to Axle Housing to Rotate Integ
What is this invention?
Axle assembly for drive wheels of vehicles
There was an axle assembly for cars,
That had a steering knuckle and stars.
It included a wheel disc,
Which was fixed to the axle house,
And a drive shaft that went round like Mars!

Hyundai Motor Company has just released an innovative new axle assembly for drive wheels of vehicles. This system includes a steering knuckle, an axle housing coupled to the inside of the steering knuckle, a wheel disc that is fixed to the axle housing and rotates with it, and a drive shaft that is also coupled to the axle housing so it can rotate in tandem. The hub bearing sits between the steering knuckle and the axle housing, and there’s even a forming part at one end of this assembly - designed to press against one side of the bearing inner race while engaging it with another part of the axle housing. All these features combine together to make this system incredibly reliable and efficient when used in any vehicle application. With its high performance capabilities and durability, Hyundai’s Axle Assembly for Drive Wheels promises increased safety on roads everywhere – making sure drivers get from point A to B without any issues!
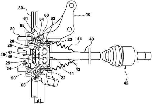
The axle assembly for drive wheels of vehicles includes a steering knuckle, an axle housing coupled to an inside of the steering knuckle, a wheel disc that is fixed to the axle housing to be rotatable integrally with the axle housing, and a drive shaft that is coupled to the axle housing to be rotatable integrally with the axle housing. A hub bearing is disposed between the steering knuckle and the axle housing. A forming part is formed at an end of the axle housing in a state in which a bearing inner race of the hub bearing is coupled to an outer circumferential surface of the axle house
US Patent 11541689
HYUNDAI MOTOR COMPANY
Helmholtz Resonator Keeps Tires Running Smoothly
What is this invention?
Helmholtz resonator for vehicle wheel
A Helmholtz resonator for a wheel,
Will reduce sonic resonance that you feel.
The cap has an internal chamber,
A pipe connects it to the tire's cavity and member.
It will make your ride nice and real!

We are excited to see the newest invention from Hyundai Motor Company - a Helmholtz resonator for vehicle wheels. This revolutionary device reduces sonic resonance, which is generated in tires during running of the vehicle, by using a wheel cap with an internal chamber that is mounted on the outside of the wheel and a connecting pipe that connects this chamber to the tire cavity. Additionally, it also uses a coupling member to further reduce resonance. This new technology will make driving more comfortable and quieter than ever before! By reducing sonic resonance in tires, drivers can enjoy their journey without being disturbed by loud noises or vibrations coming from their car's wheels. The Helmholtz resonator for vehicle wheels is sure to revolutionize automotive engineering and provide drivers with an even better experience when they're out on the road.
The patent describes a Helmholtz resonator for a vehicle wheel, which reduces sonic resonance, generated in a tire during running of the vehicle. The resonator is composed of a wheel cap with an internal chamber, a connecting pipe connecting the chamber with the cavity in the tire, and a coupling member.
US Patent 11541698
Ford
This is the thermal management system that will keep your car running cool
What is this invention?
Integrated thermal management systems and associated thermal control methods for electrified vehicles
A thermal module assembly to be
Integrated into a vehicle's front end, see?
It'll manage the heat
For an electrified seat
And control auxiliary loads with glee!

We are excited to see the latest innovation from Ford - integrated thermal management systems for electrified vehicles. This revolutionary system is designed to help manage and control the temperature of various components in an electric vehicle. The system includes a thermal module assembly that can be integrated into the front end structure of a modular platform, allowing for more efficient cooling or heating depending on what is needed. This system also has multiple distinct thermal control modes which can address various auxiliary loads like cabin heating and cooling. Additionally, this technology helps reduce energy consumption while still maintaining optimal temperatures throughout your vehicle - making it perfect for anyone who wants maximum efficiency without sacrificing comfort. With this new technology from FORD GLOBAL TECHNOLOGIES, you can enjoy all the benefits of an electric car with none of the drawbacks!
This disclosure details integrated thermal management systems for thermally managing electrified vehicle components. Exemplary integrated thermal management systems may include a thermal module assembly that may be integrated into a front end structure of a flexible modular platform of the electrified vehicle. The integrated thermal management systems may be controlled in a plurality of distinct thermal control modes for thermal managing various subcomponents and for addressing various vehicle auxiliary loads (e.g., passenger cabin heating loads, passenger cabin cooling loads, etc.). This disclosure is particularly useful in addressing issues with respect to controlling temperatures within an electrified vehicle while accommodating various auxiliary loads.
US Patent 11541715
Ford Global Technologies, LLC
A Method for Optimizing Climate Control in Autonomous Vehicles
What is this invention?
Autonomous vehicle climate optimization
A customer requested a ride
The climate control was no joke, they tried
To adjust the temp when en route
So it'd match what they wanted to boot
It'll stay within pre-set range when unoccupied and remote.

Ford has done it again! The company is introducing a revolutionary new method for optimizing climate control in autonomous vehicles. This system allows customers to set the desired temperature of their vehicle's interior before they even step inside. When the customer requests a ride, the current temperature of the vehicle will be adjusted so that it matches their desired temperature when they arrive at their destination. Not only does this make for an incredibly comfortable and personalized ride experience, but it also helps conserve energy by allowing for deviation from the desired temperature within a pre-determined range when no one is occupying the car. Ford Global Technologies' Autonomous Vehicle Climate Optimization is revolutionizing comfort and convenience in autonomous vehicles - making every ride as pleasant as possible!
The invention is a method for optimizing climate control in an autonomous vehicle. The method includes receiving a ride request for an autonomous vehicle from a customer and determining a desired temperature for the interior of the autonomous vehicle based on the ride request. The current temperature of the vehicle interior may then be adjusted such that the current temperature substantially matches the desired temperature when the autonomous vehicle reaches the customer. The temperature of the vehicle interior may be allowed to deviate from the desired temperature, within a pre-determined temperature deviation range, when the autonomous vehicle is unoccupied.
US Patent 11541720
Hyundai Motor Company
A Thermal Management System Keeps Your Vehicle Cool in the Heat
What is this invention?
Thermal management system and integrated thermal management module for vehicle
A thermal management system for a car
Included a battery line and first radiator
The indoor heating line had a hydrothermal heater
And two battery lines joined at the downstream feature
Plus, the refrigerant line with its compressor and condenser

Hyundai Motor Company has developed a revolutionary new thermal management system and integrated thermal management module for vehicles. This system is designed to help keep your vehicle running at optimal temperatures, no matter the conditions outside. The system includes a battery line connected to a high-voltage battery core, which is provided with its own radiator and pump. Additionally, an indoor heating line is connected to a heating core for air conditioning and features its own hydrothermal heater, pump, and valve. Finally, two separate battery lines are branched or joined at the downstream point of the heating core in order to be connected to both the upstream point and downstream point of the high-voltage battery core. This innovative new thermal management module from Hyundai will ensure that your vehicle remains cool even during hot summer days or cold winter nights. It also helps maintain maximum efficiency while driving by keeping all components working properly without having to worry about overheating any part of your car's engine or electrical systems. With this technology from Hyundai Motor Company you can rest assured that your vehicle will always perform optimally!
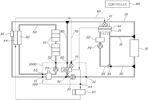
The thermal management system for a vehicle may include a battery line connected to a high-voltage battery core, provided with a first radiator, and through which coolant is communicated by a first pump; an indoor heating line connected to a heating core for indoor air conditioning, provided with a hydrothermal heater therein, provided with a second pump to fluidically-communicate the coolant, and provided with a first valve at the downstream point of the heating core; a first and second battery heating line branched or joined at the downstream point of the heating core in the indoor heating line to be connected to the upstream point and the downstream point of the high-voltage battery core, respectively; and a refrigerant line provided with an expansion valve, a cooling core for indoor air conditioning, a compressor, and condenser.
US Patent 11541725
LG ELECTRONICS INC.
Robot system provides smooth ride
What is this invention?
Robot system and control method of the same
A robot system was made with care,
It had a guide rail and slider there.
The first source disposed the slider to move,
And a rotation arm it did improve.
Installed on the arm was a vehicle service bot,
To make sure that all tasks were done without being caught.

LG Electronics Inc. has recently unveiled a revolutionary new robot system that is sure to revolutionize the way we interact with robots and automated vehicles. This system includes a guide rail, slider, first driving source, rotation arm and vehicle service robot all working together in perfect harmony. The guide rail allows for precise movement of the slider along its path while the first driving source powers the rotation arm which can then be used to move the vehicle service robot as needed. This system offers unprecedented levels of control and precision when it comes to robotic systems and will no doubt open up many exciting opportunities for automation in our lives. We can't wait to see what LG Electronics Inc.'s next innovation brings!
The robot system includes a guide rail, a slider configured to move along the guide rail, a first source disposed the slider to move together with the slider, a rotation arm configured to rotate by the first driving source, and a vehicle service robot installed the rotation arm to move by the rotation arm.
US Patent 11541769
LG Electronics Inc.
The Easiest Way to Charge Your Electric Vehicle
What is this invention?
Apparatus and method for assigning charger to electric vehicles
There was a method and an app,
To assign chargers to electric cars.
It grouped vehicles into clusters,
Then determined charging priorities;
Efficient use of time for users in the bars!

Are you an electric vehicle owner looking for a more efficient way to charge your car? Look no further than LG Electronics Inc.’s new Apparatus and Method for Assigning Chargers to Electric Vehicles! This revolutionary system clusters chargers into at least one charger cluster, allowing you to receive charging reservation requests from the electric vehicles during a predetermined period of time. It also clusters the electric vehicles into at least one electric vehicle cluster, determining a charging priority between them based on this information. Finally, it assigns the chargers to the electric vehicles based on this determined priority so that users can make use of their time in an efficient manner. With LG Electronics Inc.'s Apparatus and Method for Assigning Chargers to Electric Vehicles, you can now get your car charged up quickly and easily - no matter where you are!
The present invention relates to a method and an apparatus for assigning chargers to electric vehicles. The method comprises clustering chargers into at least one charger cluster, receiving charging reservation requests from the electric vehicles during a predetermined period of time, clustering the electric vehicles into at least one electric vehicle cluster, determining a charging priority between the electric vehicles based on the at least one electric vehicle cluster and assigning the chargers to the electric vehicles based on the determined charging priority. As a result of this, an efficient charging reservation is proposed to a user, so that it is possible to help the user utilize time efficiently.
US Patent 11541773
Ford Global Technologies, LLC
Vehicle Powered by Recharging Battery
What is this invention?
Battery state of charge estimation system for a hybrid/electric vehicle
A vehicle was made with care
It included a battery, machine and controller fair
The state of charge was tracked
With coulomb counting attacked
To adjust the power flow in the air.

Ford has just unveiled their new Battery State of Charge Estimation System for hybrid/electric vehicles. This system is designed to help drivers get the most out of their vehicle’s battery life by using a feed forward control that includes a coulomb counting algorithm, a first feedback control that includes a first battery model, and a second feedback control that includes a second battery model. The controller then uses this information to adjust the estimation of the state of charge and to regulate the electrical power flow between the battery and electric machine accordingly. This revolutionary system promises improved efficiency in hybrid/electric vehicles as well as better performance overall. With its ability to accurately estimate and maintain an optimal level of charge in your car’s batteries, you can be sure you will get maximum mileage from every single mile driven!
The vehicle includes a battery, an electric machine, and a controller. The battery has a state of charge. The electric machine is configured to draw electrical power from the battery to propel the vehicle in response to an acceleration request and to deliver electrical power to the battery to recharge the battery. The controller is programmed to adjust an estimation of battery state of charge based on a feed forward control that includes a coulomb counting algorithm, a first feedback control that includes a first battery model, and a second feedback control that includes a second battery model. The controller is further programmed to control the electrical power flow between the battery and the electric machine based on the estimation of the state of charge of the battery.
US Patent 11541775
Hyundai Motor Company
System and Method for Controlling Vehicle Thermal Management Apparatus
What is this invention?
System and method for controlling vehicle thermal management apparatus
A system and method to control
The vehicle's thermal management role,
It collects states of the part
And the disturbances they start,
Then calculates heat exchange in its whole.

Hyundai Motor Company has just unveiled an exciting new system and method for controlling vehicle thermal management apparatus. This system is designed to collect the state of a vehicle component, as well as the state of any disturbances that may affect its thermal management. With this information, it can calculate how much heat exchange between the component and the thermal management apparatus will be required in the future, allowing it to control operation of said apparatus accordingly. This innovative technology from Hyundai Motor Company provides unprecedented levels of accuracy when it comes to managing a vehicle's temperature. By accurately predicting and responding to changes in both components and external conditions, drivers can rest assured that their car will always remain at optimal temperatures no matter what environment they're driving in.
A system and method for controlling a vehicle thermal management apparatus may include a component state unit of collecting a state of a vehicle component, a disturbance collection unit of collecting a state of a disturbance affecting thermal management of the vehicle component, a determination unit of calculating an amount of heat exchange between the vehicle component and the thermal management apparatus, which is required in the future, based on past state values collected through the component state unit and disturbance collection unit. The operation unit may then control operation of the thermal management apparatus based on this calculated amount.
US Patent 11541777
HYUNDAI MOTOR COMPANY
Armrest Assembly Mounted on Console of Vehicle Allows Passengers to Open and Close Upper Portion of Storage Box
What is this invention?
Armrest assembly mounted on console of vehicle
A console with an armrest so neat,
It had a button that was quite discreet.
The passenger's arm it will support,
And when the button is pressed, unlock the port.
This assembly was mounted on a seat!

Driving in comfort is now easier than ever before with the Armrest Assembly from Hyundai Motor Company. This assembly is mounted on the console of a vehicle and includes a storage box, an armrest pivotably installed in the storage box, and a button member that can be used to unlock the armrest. Additionally, it also features an operating unit which locks or unlocks the armrest depending on whether or not you press the button member. Finally, there's also a console cover that covers up any exposed parts while still allowing access to upper end of the button member. With this new assembly from Hyundai Motor Company, your driving experience just got much more comfortable!
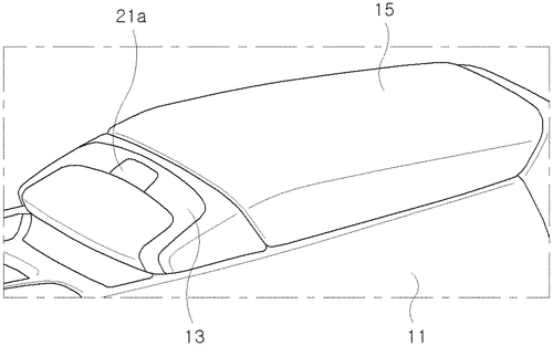
The patent describes an armrest assembly that is mounted on a console of a vehicle. The assembly includes a console main body, a storage box in which a space is formed, and an armrest pivotably installed in the storage box and configured to support an arm of a passenger in the vehicle and open and close an upper portion of the storage box. A button member is installed in the console main body and is configured to be operated by the passenger to unlock the armrest. An operating unit is configured to lock or unlock the armrest from the console main body according to whether the button member is operated. The assembly also includes a console cover configured to cover a portion in which the button member and operating unit are installed, and expose an upper end of the button member.
US Patent 11541792
GM GLOBAL TECHNOLOGY OPERATIONS LLC
Auto Headrest Retraction Ensures Comfortable Seating
What is this invention?
Fold down seat control
A vehicle with two rows of seats
The second one has a foldable seat
It has a headrest too,
Which retracts when it's due,
For passengers' comfort and treat!

Are you looking for a more convenient way to fold down your vehicle’s back seat? Look no further! GM GLOBAL TECHNOLOGY OPERATIONS LLC has just unveiled their new Fold Down Seat Control. This innovative system makes it easier than ever before to fold down the second row of seats in your vehicle, without having to worry about manually adjusting the headrests. The at least one headrest included with this system is designed with a retraction mechanism that automatically retracts when the seat back is folded forward. This means no more struggling and straining as you try to adjust each individual headrest! With GM GLOBAL TECHNOLOGY OPERATIONS LLC’s Fold Down Seat Control, folding down the backseat of your car or SUV has never been easier.
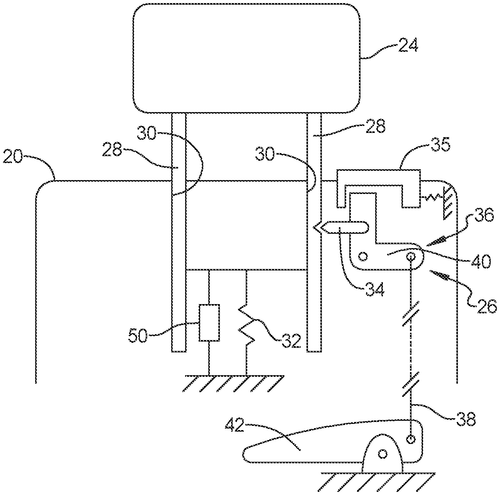
The vehicle includes a passenger compartment having a first row of seats and a second row of seats disposed behind the first row of seats. The second row of seats including a seat back configured to fold forward toward the first row of seats. The seat back includes at least one headrest that is movable from a retracted position to an extended position. The at least one headrest includes a retraction mechanism configured to retract the headrest to a retracted position automatically when the seat back is folded forward.
US Patent 11541793
Ford
Vehicle includes floor, seatback and slider - deploys for easy access
What is this invention?
Cable seat restraint
There was a vehicle with a floor,
A seat supported by it galore.
An actuator fixed in place,
Along the longitudinal space;
And when tension is applied, slider deploys!

Ford has just released their new Cable Seat Restraint system for vehicles. This innovative system is designed to provide maximum safety and security in the event of an accident or sudden stop. The seat restraint includes a track fixed relative to the floor between the seat and actuator, with a slider that can be deployed by the actuator. A cable connects from the seatback to this slider, providing tension when it is in its deployed position - ensuring that passengers are securely held in place at all times. With this advanced technology, drivers can rest assured knowing that they have one more layer of protection against potential danger on the roads.
The vehicle includes a floor, a seat supported by the floor, an actuator fixed relative to the floor and spaced from the seat along a vehicle-longitudinal axis, and a track fixed relative to the floor and disposed between the seat and actuator. The slider is slidable relative to the track by the actuator to a deployed position under tension.
US Patent 11541830
Ford Global Technologies, LLC
Vehicle with Airbag that Extends Endless Around Occupant Seating Area
What is this invention?
Floor mounted airbag
An airbag fixed to the floor
Will protect occupants galore.
It's inflated up from the ground,
Around seating area it's found.
For safety in a crash no more!

Ford has introduced a revolutionary new airbag system that is designed to provide maximum protection for vehicle occupants. This floor-mounted airbag inflates upward from the floor and extends endlessly around the occupant seating area when deployed. This means that no matter where an accident occurs or how severe it is, this airbag will be able to protect passengers from all angles. Not only does this system provide extra security in case of an emergency, but it also takes up less space than traditional airbags which makes it perfect for small vehicles. We are excited about this ground-breaking technology and can’t wait to see how Ford utilizes it in the future!
A vehicle includes a floor and an occupant seating area above the floor. An airbag is fixed to the floor and is inflatable upwardly from the floor to an inflated position. At least a portion of the airbag in the inflated position extends endlessly around the occupant seating area. This allows for maximum protection for occupants in case of a crash.
US Patent 11541834
FORD GLOBAL TECHNOLOGIES, LLC
Airbag-equipped restraint system keeps passengers safe
What is this invention?
Side airbag assembly
A seat and guide, both quite adjacent
Had an airbag that was effective
The lifter was fixed
To the mounting connection mixed
Making safety for all quite sufficient

We are excited to see a new side airbag assembly from Ford. This restraint system includes a seat and linear guide adjacent the seat with a base fixed relative to the seat and a lifter moveable relative to the base. The airbag has an innovative mounting connection which is supported by and fixed to the lifter of the linear guide for maximum stability. This advanced safety feature ensures that your passengers will be safe in any situation, no matter how sudden or unexpected it may be. With its secure mounting connection, this side airbag assembly provides reliable protection during collisions while remaining lightweight and easy to install. We are proud of our invention as it offers superior protection without compromising on comfort or convenience!
The restraint system includes a seat and a linear guide adjacent the seat. The linear guide has a base fixed relative to the seat and a lifter moveable relative to the base. An airbag has a mounting connection. The mounting connection is supported by and fixed to the lifter of the linear guide.
US Patent 11541840
Ford Global Technologies, LLC
Protected Property with New Method and Apparatus
What is this invention?
Systems and methods for protecting property
A method and apparatus to protect
Property from any malicious act
Receiving information of an attack
Determining type, no turning back
Transmitting a data packet with metadata to the receiver so exact.

Protecting your property is more important now than ever before. That’s why Ford has developed a revolutionary system and method for protecting your property from attack. This system uses sophisticated technology to detect an attack on your property and then sends out a data packet with metadata describing the type of attack so that you can take appropriate action. This system provides peace of mind by allowing you to know when someone is trying to damage or steal something from you. It also helps law enforcement agencies track down criminals who may be targeting a particular area or person. The added layer of security this system provides will help keep your family and belongings safe no matter where they are located.
The present invention provides a method and apparatus for protecting property. The method includes receiving information indicating an attack on the property, determining, from the received information, a type of attack upon the property indicated by the received information, and transmitting a data packet to a receiver. The data packet comprises metadata describing the determined type of attack.
US Patent 11541844
Hyundai Motor Company
Detecting Brake Judder with Ease – No More Tests Required
What is this invention?
System and method for sensing brake judder in vehicle
A system to detect brake judder
Would save time and resources, no blunder
It stores info so true
To easily recognize when due
Without having to take a measure or run tests anew

Hyundai Motor Company has developed a revolutionary new system and method for detecting brake judder in vehicles. This amazing technology is capable of storing information related to whether or not judder was generated when the vehicle was braked, allowing easy recognition of a vehicle with this issue without having to perform any additional tests. This makes maintenance easier than ever before as it eliminates the need for separate driving reproduction tests and disc thickness measurement tests. This innovative technology from Hyundai Motor Company will make diagnosing issues with brakes much simpler and faster, saving time and money on repairs! With its advanced capabilities, this system is sure to revolutionize how we detect brake judder in vehicles - making it easier than ever before.
The system and method for detecting brake judder in a vehicle may include storing information related to determining whether judder was generated when a vehicle was braked, and facilitating easy recognition of a vehicle in which judder was generated, on the basis of stored information without performing methods such as a separate driving reproduction test and a disc thickness measurement test when maintaining later. This would save time and resources, allowing for quicker detection of brake judder in vehicles.
US Patent 11541860
HYUNDAI MOTOR COMPANY
An apparatus to Keep You From Slipping and Failing in an Electronic Parking Spot
What is this invention?
Apparatus, system and method for controlling vehicle
There was an apparatus that could sense,
Vehicle driving and environment information dense.
The EPB it would engage,
If the data seemed to manage,
But a slip it would stop with control of the steering angle hence.

Driving in challenging conditions can be dangerous, but Hyundai Motor Company has come up with a solution to make it safer. The Apparatus, system and method for controlling vehicle is an innovative technology that helps drivers stay safe on the road by providing them with extra control over their vehicle. The system includes a sensor that detects information about the surrounding environment as well as driving information. This data is then used to determine whether or not an Electronic Parking Brake (EPB) should be engaged, or if other measures such as steering control are necessary. If EPB engagement isn't possible, the controller will use the gathered data to calculate a steering angle and send it to a portable terminal before receiving a steering control command from said terminal which it will then use to adjust the car's direction accordingly. Thanks to this invention from Hyundai Motor Company, drivers now have access to an extra layer of safety when navigating difficult terrain or hazardous weather conditions - giving you peace of mind behind the wheel!
The apparatus includes a sensor that obtains vehicle surrounding environment information and vehicle driving information. The controller determines whether an engagement of an Electronic Parking Brake (EPB) is possible based on the vehicle driving information and performs control for preventing a slip based on the vehicle surrounding environment information upon determining that the engagement of the EPB is impossible. The controller calculates a steering angle for preventing the slip and transmits the steering angle to a portable terminal. The portable terminal receives a steering control command from the controller and controls steering based on the received steering control command.
US Patent 11541874
Hyundai Motor Company
Automatic Movement Via Communication With Surrounding Parked Vehicle
What is this invention?
Vehicle and control method thereof
A vehicle was built with such care,
It had a communication unit and sensors to spare.
The controller would check if the authority was there,
For movement requests based on surrounding parked vehicles in the air.
Once it determined that all was fair,
The power device and steering were operated with great flair!

We are excited to see the newest innovation from Hyundai Motor Company: a vehicle and control method that allows your car to automatically move according to requests received from surrounding parked vehicles. This system is equipped with a communication unit, sensor, steering device, and power device that work together in order to determine whether or not the request has been authorized based on external surroundings and vehicle identification information. Once approved, the power device and steering device will be activated so your car can move accordingly. This revolutionary technology makes it easier than ever before for drivers to maneuver their cars around tight parking spaces without having to leave their seat! It also ensures safety by only allowing authorized requests - meaning you don't have to worry about any unexpected movements when you're out of sight. We know this new feature will make life much simpler for anyone who needs an extra hand navigating through busy parking lots - so why wait? Try it out today!
The vehicle includes a communication unit and a sensor sensing an external surrounding. The controller determines whether the surrounding vehicle has an authority for the movement request based on the external surrounding and the vehicle identification information. The power device and the steering device are operated based on the movement request when the surrounding parked vehicle has the authority.
US Patent 11541878
HYUNDAI MOTOR COMPANY
Driver Safety Alert: Vehicle Includes Sensors to Detect Dangerous Driving
What is this invention?
Vehicle traveling control apparatus, method and system
There was a driver who had no skill
His state was determined by a device so chill
It sensed the danger with ease
And sent out an SOS plea
To the management server, against his will

Are you looking for a way to make your driving experience safer and more efficient? Look no further than the Vehicle Traveling Control Apparatus, Method and System from Hyundai Motor Company. This system utilizes a variety of sensors to detect the driver's state in order to determine if it is dangerous or not. If it is deemed dangerous, the Driving Assistance Device will take over lane keeping control and speed control of the vehicle while also sending out a network connection request to a management server. This advanced technology ensures that drivers are kept safe by preventing accidents due to distracted or impaired driving. It also helps improve efficiency by making sure vehicles are always traveling at optimal speeds while staying within their lanes. With this new system from Hyundai Motor Company, you can rest assured knowing that your safety is taken care of on every journey!
The vehicle includes a driver state determining device that receives detection results from a plurality of sensor devices and determines whether the driver state is a dangerous state. If it is determined that the driver state is a dangerous state, then the driving assistance device will transmit a network connection request to a management server.
US Patent 11541886
Hyundai Motor Company
An Inventor's New Vehicle Closure Module Frame Structure Provides Secure and Comfortable Travel
What is this invention?
Closure module frame structure of vehicle
A platform of a vehicle was made
To form an outer floor surface laid
Two frames were spaced apart
With a middle connection part
Load path units to them were inlaid

Hyundai Motor Company has just unveiled their latest invention - the Closure Module Frame Structure of a Vehicle. This groundbreaking technology is designed to make vehicles more durable and efficient than ever before. The frame structure consists of a platform that extends from front to back, two cabin frames spaced apart and facing each other, at least one middle connection part between the frames, load path units connected to opposite sides starting from the middle connection part, and a cabin unit inserted between the load path units for fastening. This revolutionary new system allows for increased durability in vehicles by providing greater structural strength while also making them lighter overall. With this new design, Hyundai has once again pushed automotive engineering forward with its innovative solutions!
An embodiment closure module frame structure of a vehicle includes a platform extending from a front to a rear of the vehicle to form an outer floor surface. A first and a second cabin frame are provided on the platform such that the first and the second cabin frame are spaced apart from each other while facing each other. At least one middle connection part is placed between the first and the second cabin frame. Load path units are in contact with the first and the second cabin frame, and are connected to opposite sides starting from the middle connection part. And, a cabin unit is inserted between the load path units to be fastened to the first and the second cabin frame.
US Patent 11541937
GM Global Technology Operations LLC
Transparent Composite Roof Panels with Localized Reinforcement Features
What is this invention?
Laminate composite roof panels with internal localized structural reinforcements for motor vehicles
This article is quite complex,
It talks of panels for motor vecs.
For strength and durability,
Localized features are key;
Transparent roof panels a must for success!

GM Global Technology Operations LLC has just unveiled a revolutionary new laminate composite roof panel system with internal localized structural reinforcements for motor vehicles. This advanced sandwich-type multilayer composite panel contains one or more exterior layers each including a transparent rigid material, one or more bonding layers each including a transparent adhesive material, and one or more structural reinforcement layers each including a fiber-reinforced polymer material. The fibers of the structural reinforcement layer are localized to specific regions within the composite panel's plan-view profile, providing superior strength and durability without compromising transparency. This innovative technology also includes other features such as IR-reflective layers, light-absorbing sunshade layers, and insulating low-k layers - all designed to maximize performance while keeping your vehicle lightweight and efficient. With this new laminate composite roof panel from GM Global Technology Operations LLC you can rest assured that your car will be strong yet stylish!
This article discusses multilayer composite panels for use in motor vehicles, methods of making and using such panels, and the benefits of transparent composite roof panels with localized reinforcement features. A sandwich-type panel contains one or more exterior layers each including a transparent rigid material, one or more bonding layers each including an adhesive material, and one or more structural reinforcement layers each including a fiber-reinforced polymer material. Each layer is attached directly to adjacent layers and/or the exterior layer. The composite panel may also include one or more IR-reflective layers, one or more light-absorbing sunshade layers, and one or more insulating low-k (thermal) layers. The fibers of each reinforcement layer are localized to a discrete region within the panel's plan view profile; this region has laterally spaced side rails extending along the length of the panel, and transverse crossmembers connecting the side rails. These features provide enhanced strength and durability in regions where stress is concentrated.
US Patent 11541939
The Boeing Company
A Galley Cart Assembly That Includes a Cart and a Wheel Assembly Attached to the Cart!
What is this invention?
Galley cart assembly and an aircraft that utilizes the galley cart assembly
A galley cart assembly was made
To reduce noise levels in flight grade
Wheels and brakes to propel
And a controller as well
So the carts stay still when they're swayed

The Boeing Company has been hard at work developing the latest innovation in aircraft technology - a revolutionary new galley cart assembly. This system includes a cart with a wheel assembly attached to it, and is capable of detecting turbulence events through its controller and processor. When turbulence is detected, the primary brake assembly automatically locks the cart in place to prevent any movement during flight. Not only does this make for safer flights, but it also eliminates the need for manual operation of brakes by cabin crew members. This advanced galley cart system will be available on certain aircrafts from The Boeing Company, making flying even more secure and convenient than ever before! With this innovative technology, you can rest assured that your next flight will be as safe as possible - no matter how turbulent things get!
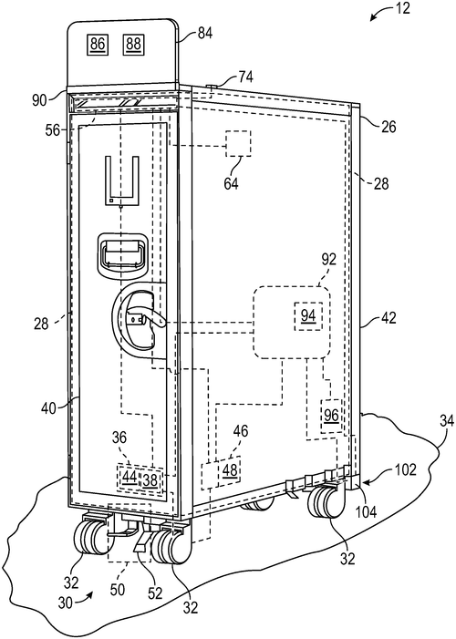
The galley cart assembly includes a cart and a wheel assembly attached to the cart. The wheel assembly includes a plurality of wheels and a drive assembly configured to drive one or more of the plurality of wheels to propel the cart. The wheel assembly also includes a primary brake assembly to lock one or more of the plurality of wheels to prevent movement of the cart. Furthermore, the galley cart assembly includes a controller coupled to the cart and including a processor and a memory. The controller includes a turbulence monitoring system configured to detect a turbulence event. The controller is in communication with the wheel assembly, and is configured to automatically operate the primary brake assembly to lock the cart in position when the turbulence monitoring system detects the turbulence event. In certain configurations, an aircraft including this galley cart assembly can reduce noise levels during flight by preventing movement of carts during turbulent conditions.
US Patent 11542006
THE BOEING COMPANY
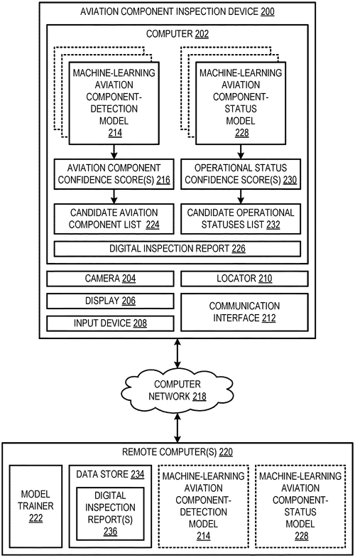
An Aviation Component Inspection Device That Uses Machine Learning to Detect Components
What is this invention?
Aviation component inspection using image recognition
A device for aviation inspection
Includes a cam, display, and selection
The camera captures images of parts galore
Which the computer will evaluate with models it stores
Then you can verify which part's what you're looking for

The Boeing Company has developed a revolutionary new device for aviation component inspection: an automated system that uses image recognition to identify and inspect components. This device consists of a camera, display, input device, and computer. The camera captures images of the aviation component under inspection while the computer evaluates these images using machine-learning models trained to detect any potential issues with the component. Once detected, a list of candidate components is presented on the display along with data associated with each one. A user can then select which candidate they believe is present in the image and confirm it via their input device - this information will then be added to a digital inspection report for easy review later down the line. This innovative technology from The Boeing Company simplifies aviation inspections considerably by automating much of the process and removing manual effort from inspectors' hands - allowing them to focus more time on other important tasks instead!
The patent describes an aviation component inspection device that includes a camera, a display, an input device, and a computer. The camera is configured to capture images of an aviation component under inspection. The computer is configured to receive an image from the camera, evaluate the image with one or more machine-learning aviation component-detection models. Each machine-learning aviation component-detection model is previously trained to output at least one confidence score indicating a confidence that a corresponding aviation component is present in the image. The computer is configured to present, via the display, a list of candidate aviation components based on corresponding confidence scores output by the one or more machine-learning Aviation Component Detection Models. The user can then verify which candidate aviation component they are looking for by inputting verification data into the input device. If verified, data associated with that candidate aircraft component will be added to the digital inspection report.
US Patent 11542039
The Boeing Company
Additively Manufactured Satellite Wall Panel Allows for Communication in Space
What is this invention?
Additively manufactured satellite panel with damping
A satellite with a special knack
Had walls that were additively racked.
It had a facesheet and stiffening too,
And a communication device to send data true.
In space its data it could track!

We are excited to see the launch of The Boeing Company's new Additively Manufactured Satellite Panel with Damping. This revolutionary satellite panel is designed for use in space, and features an additively manufactured wall panel that has a facesheet and a stiffening structure extending from it. In addition, this satellite also comes equipped with a communication device that allows it to send and receive data while in orbit. This innovative technology offers many advantages over traditional satellites, including improved durability due to its damping capabilities, as well as increased performance due to its lightweight construction. Plus, by using additive manufacturing techniques instead of traditional fabrication methods, we can create these panels more quickly and efficiently than ever before - making them perfect for any mission or application requiring high-performance components in space. The Additively Manufactured Satellite Panel with Damping is just one example of how The Boeing Company is pushing the boundaries of what’s possible when it comes to aerospace technology – stay tuned for more exciting developments!
The disclosure provides a satellite including a body having an additively manufactured wall panel and a communication device connected to the body. The wall panel includes a facesheet and a stiffening structure extending from a first side of the facesheet. The communication device is configured to send and receive data while in space.
US Patent 11542041